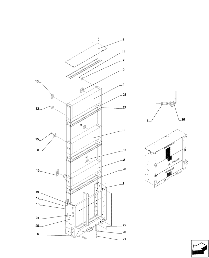
Запчасти Case IH A8800 (10.400.BG[01]) - RADIATOR PROTECTION (10) - ENGINE

Схема запчастей Case IH A8800 - (10.400.BG[01]) - RADIATOR PROTECTION (10) - ENGINE
24
4
20
1
22
18
19
16
11
26
17
12
15
2
9
7
25
13
23
6
3
8
21
14
10
28
27
5
FIT
1:1
100%

Артикул

Название

Примечание

Количество

84248423

BOX

1шт.

2

87332523

INTERCOOLER

1шт.

3

87623530

OIL COOLER

1шт.

4

87363805

COOLER

1шт.

5

87609049

STEEL PLATE

1шт.

6

87646571

2шт.

7

87318590

RUBBER SEAL

2шт.

8

87318582

GASKET,25mm Thk

2шт.

9

87318587

RUBBER SEAL

1шт.

10

87522018

RUBBER SEAL

1шт.

11

87318588

RUBBER SEAL

1шт.

12

86598044

PLUG,Hex, M14 x 1.5 ORB

1шт.

13

87318589

RUBBER SEAL

1шт.

14

395779

NIPPLE

1шт.

15

87380856

TERMINAL

2шт.

16

102043

GROMMET,19.05mm ID x 34.925mm OD x 11.11mm Thk

2шт.

17

322358

BELLEVILLE WASHER,M8 Bolt Size x 18mm OD x 1.4mm Thk

24шт.

18

120104

BOLT,Hex, M8 x 1.25 x 20mm, Cl 8.8

17шт.

19

84983188

RIVET,Flng, SW 11mm OD x 17.2mm L

25шт.

20

87589624

SUPPORT

2шт.

21

120106

BOLT,M8 x 1.25 x 45.45mm, Cl 8.8

4шт.

22

9706690

NUT,M8 x 1.25, Cl 8

5шт.

23

400987

SEAL

18.8mшт.

24

87324720

SEAL PROTECTION

2.3mшт.

25

401278

SEALING STRIP

2.3mшт.

26

140041

WASHER,M8 x 28mm OD x 3mm Thk

2шт.

27

84245117

SHIM,80mm OD x 1.7mm Thk

6шт.

28

84245118

SHIM,80mm OD x 3.25mm Thk

6шт.

Выбрано товаров: 28