Качественные детали и логистика
Оригинальные и аналоговые запчасти с доставкой по России, Казахстану и Беларуси
©2022 PartSell ООО "Система" ИНН 2463123282 ОГРН 1212400004838
Центральный офис: г. Красноярск, Академика Киренского, д.87, пом.4
Телефон: 8 (800) 777-65-74 Email: zakaz@partsell.ru
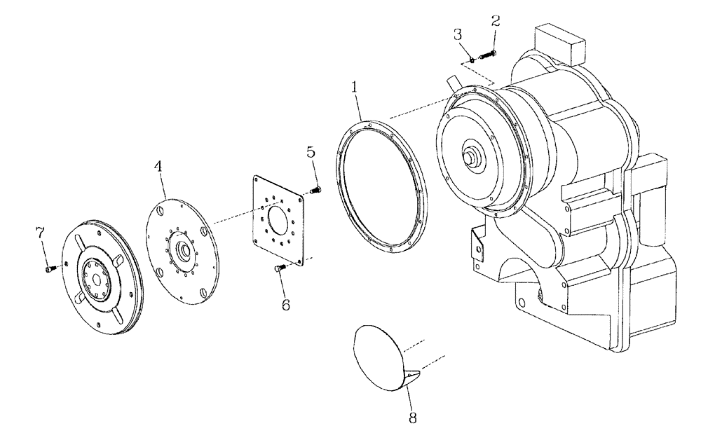
(C03[04]) - DRIVE PLATE ADAPTOR
№
Артикул
Название
Примечание
Количество
1
383080A1
SPACER
1шт.
2
FA110050
BOLT
12шт.
3
WB100000
WASHER
4
383079A1
ADAPTER
5
FP112025
BOLT,Hex, M1, Gr 10.9
6
FA116040
4шт.
7
FC108060
SCREW
8
392707A1
GUARD
Выбрано товаров: 0