Запчасти Case IH AUSTOFT (A01[09]) - STABILISING MECHANISM Mainframe & Functioning Components

Схема запчастей Case IH AUSTOFT - (A01[09]) - STABILISING MECHANISM Mainframe & Functioning Components
11
6
11
11
13
6
17
7
5
7
8
9
6
8
3
9
18
12
9
17
7
2
9
9
4
7
7
10
12
11
13
15
12
6
1
13
9
10
16
14
13
12
7
FIT
1:1
100%

Артикул

Название

Примечание

Количество

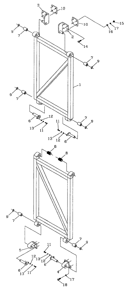
1

393052A1

FRAME

2шт.

2

393062A1

BRACKET top (L.H.)

1шт.

3

393061A1

BRACKET top (R.H.)

1шт.

4

393069A1

CLAMP BRACKET

BRACKET bottom (L.H.)

1шт.

5

393068A1

CLAMP BRACKET

bottom (R.H.)

1шт.

6

393072A1

PIN

6шт.

7

393075A1

BUSHING

(nylon)

6шт.

8

393076A1

BUSHING

(steel)

2шт.

9

CE025000

CIRCLIP

6шт.

10

393060A1

PACKER

2шт.

11

FA108016

BOLT

6шт.

12

WB080000

WASHER

6шт.

13

WB080000

WASHER

6шт.

14

FA112050

BOLT

8шт.

15

NA112000

NUT

8шт.

16

WA120000

WASHER

8шт.

17

WB120000

WASHER

16шт.

18

FA112030

BOLT

8шт.

Выбрано товаров: 18