Запчасти Case IH AUSTOFT (A02[10]) - REAR AXLE Mainframe & Functioning Components

Схема запчастей Case IH AUSTOFT - (A02[10]) - REAR AXLE Mainframe & Functioning Components
4
5
7
7
2
6
12
7
9
14
9
14
7
3
13
14
1
8
10
11
FIT
1:1
100%

Артикул

Название

Примечание

Количество

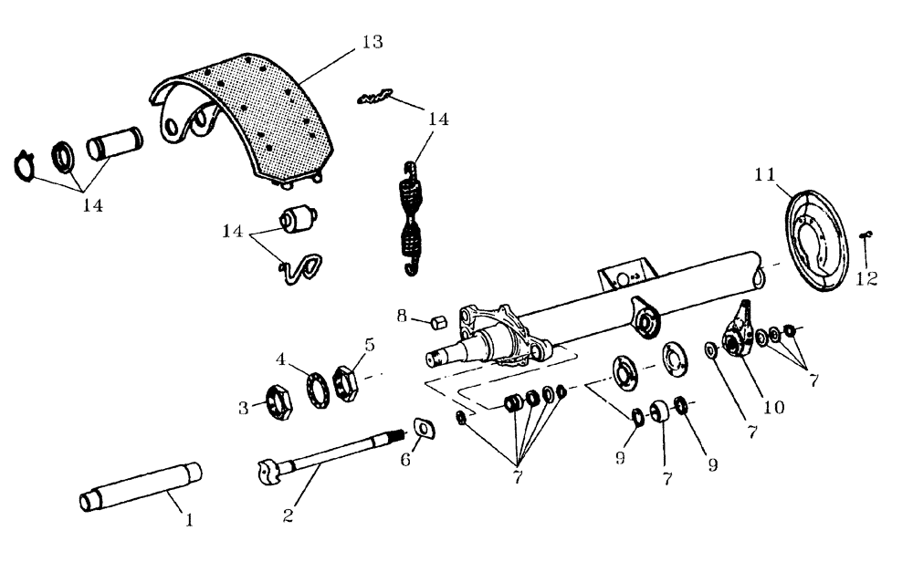
1

408666A1

CAM enclosure

4шт.

2

408387A1

BRAKE CAM

S RH

2шт.

2

408388A1

BRAKE CAM

S LH

2шт.

3

408670A1

NUT outer

4шт.

4

408680A1

LOCKWASHER

4шт.

5

408681A1

NUT inner

4шт.

6

408682A1

D WASHER

4шт.

7

408698A1

SEAL

CAM bushing kit

4шт.

8

408683A1

ANCHOR pin bush

4шт.

9

408684A1

O-RING s cam

8шт.

10

408685A1

ADJUSTER slack

4шт.

11

408686A1

SHIELD dust

4шт.

12

408687A1

SCREW

24шт.

13

408689A1

BRAKE LINING

BRAKE shoe assy

8шт.

14

408694A1

KIT hardware brake

4шт.

15

408697A1

BRAKE DRUM

HUB & DRUM (Not Shown)

4шт.

16

408699A1

BEARING

BEARING (Not Shown)

8шт.

17

408698A1

SEAL

HUB (Not Shown)

4шт.

18

408700A1

CAP

CAP hub(Not Shown)

4шт.

Выбрано товаров: 19