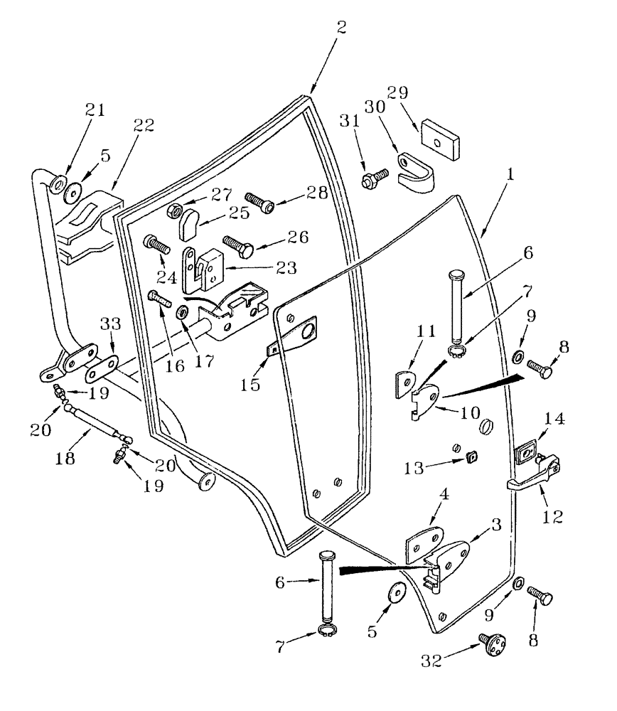
Запчасти Case IH AUSTOFT (A03[05]) - RIGHT HAND DOOR Mainframe & Functioning Components

Схема запчастей Case IH AUSTOFT - (A03[05]) - RIGHT HAND DOOR Mainframe & Functioning Components
30
19
24
22
25
32
29
19
17
20
15
20
7
9
27
8
5
18
14
1
11
7
26
9
16
10
23
31
5
28
6
2
33
13
6
3
12
4
8
21
FIT
1:1
100%

Артикул

Название

Примечание

Количество

318527A1

DOOR ASSY.

(Incl's 1-5, 8-17, 19-28, 32, 33)

1шт.

1

192004A4

GLASS,CAB

1шт.

9

895-15008

WASHER,9mm ID x 20mm OD x 1.6mm Thk

3шт.

2

245053A2

DOOR SEAL

1шт.

3

191207A3

HINGE

(lower)

1шт.

4

178647A3

SPACER

(lower)

1шт.

5

221429A2

SPACER

3шт.

6

178819A3

PIN,10mm OD x 94.55mm L

2шт.

7

235754A1

CLIP,ELECTRICAL

2шт.

8

614-8035

BOLT,Hex, M8 x 1.25 x 35mm, Cl 8.8, Full Thd

3шт.

10

185790A2

HINGE

(upper)

1шт.

11

178646A2

SPACER

(upper)

1шт.

12

112330A1

HANDLE

1шт.

13

122217A1

DOOR COVER

SEAL ASSY. (rear)

1шт.

14

220442A1

DOOR SEAL

SEAL ASSY. (front)

1шт.

15

191939A3

SPACER

1шт.

16

840-1630

SCREW,Pan, M6 x 30mm, Cl 4.8

1шт.

17

892-11006

LOCK WASHER,M6

1шт.

18

1977416C1

GAS STRUT

GAS strut

1шт.

19

3234063R1

BALL STUD,M10 x 1.5

STUD

2шт.

20

3233348R1

CLIP

SPRING

2шт.

21

245300A3

HANDLE

ASSY.

1шт.

22

220798A4

DOOR COVER

1шт.

23

K303806

LOCK

1шт.

24

905980R1

HEX SOC SCREW,FLAT, M6 x 1 x 25mm, Cl 8.8

2шт.

25

112069A1

DOOR COVER

KNOB

1шт.

26

840-1625

SCREW,Pan, M6 x 25mm, Cl 4.8

2шт.

27

829-1406

NUT,Hex, M6 x 1, Cl 10.9

2шт.

28

840-1512

SCREW,Pan, M5 x 12mm, Gr 4.8

1шт.

29

132849C1

PLATE

1шт.

30

1977919C1

PROTECTOR

GUARD

1шт.

31

245354A1

PIN

1шт.

32

198916A2

CAP,M8 x 20, Black

2шт.

33

244698A1

SPACER

1шт.

Выбрано товаров: 34