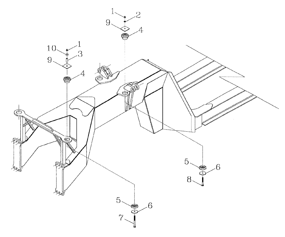
Запчасти Case IH AUSTOFT (A03[13]) - CABIN MOUNTS Mainframe & Functioning Components

Схема запчастей Case IH AUSTOFT - (A03[13]) - CABIN MOUNTS Mainframe & Functioning Components
9
9
10
5
1
8
3
7
2
1
5
4
6
6
4
FIT
1:1
100%

Артикул

Название

Примечание

Количество

1

NA116000

NUT

4шт.

2

WA160000

WASHER

2шт.

3

370639A1

SPACER

2шт.

4

192337A1

ISOLATOR,101.6mm OD x 73.7mm L

TOP

4шт.

5

1286903C1

INSULATOR BLOCK

LOWER

4шт.

6

367792A1

WASHER

4шт.

7

FA116180

BOLT

2шт.

8

FA116180

BOLT

2шт.

9

178659A1

PAD

PLATE

4шт.

10

395862A1

WASHER

2шт.

Выбрано товаров: 10