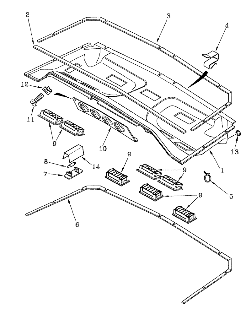
Запчасти Case IH AUSTOFT (A03[20]) - ROOF PANEL Mainframe & Functioning Components

Схема запчастей Case IH AUSTOFT - (A03[20]) - ROOF PANEL Mainframe & Functioning Components
10
6
9
5
9
4
9
8
14
2
1
3
9
13
11
12
7
FIT
1:1
100%

Артикул

Название

Примечание

Количество

1

299387A1

HOUSING

1шт.

2

307161A1

GASKET

1шт.

3

194034A3

SEAL KIT

1шт.

4

251193A1

CLIP,ELECTRICAL

SPRING

6шт.

5

22-824

CABLE TIE,3/16" x 7 1/4"

CABLE STRAP

5шт.

6

194035A2

GASKET

1шт.

7

1983391C1

LAMP,12V, 10W

ASSY.

1шт.

8

E35556

BULB,12V, 10W

Lamp

1шт.

9

1958752C1

VENT

LOUVER

7шт.

10

PANEL ASSY. refer page A03.18

1шт.

11

540-710

SCREW,Pan HD, M6 x 16mm, Cl 4.8

5шт.

12

833-40306

SPRING NUT,M6, U

5шт.

13

256806A1

PLUG

2шт.

14

307162A1

COVER

1шт.

Выбрано товаров: 14