Запчасти Case IH AUSTOFT (A05[01]) - AIR CONDITIONER COMPRESSOR/BELT/MOUNT Mainframe & Functioning Components

Схема запчастей Case IH AUSTOFT - (A05[01]) - AIR CONDITIONER COMPRESSOR/BELT/MOUNT Mainframe & Functioning Components
8
2
8
7
12
1
11
5
14
16
17
15
13
5
3
5
9
10
4
6
FIT
1:1
100%

Артикул

Название

Примечание

Количество

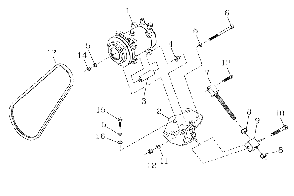
1

181083

COMPRESSOR

1шт.

2

87229625

MOUNTING PARTS

1шт.

3

87235497

BUSHING,10.3mm ID x 25.4mm OD x 83.3mm L

SPACER

1шт.

4

87235498

SPACER

1шт.

5

WB100000

WASHER

6шт.

6

FC110140

SCREW,M10 x 1.5 x 140mm

1шт.

7

87237012

ADJUSTMENT SCREW,150mm L

1шт.

8

NA116000

NUT

2шт.

9

87237016

BLOCK

1шт.

10

FA112080

BOLT

1шт.

11

WB120000

WASHER

1шт.

12

NA112000

NUT

1шт.

13

FA110050

BOLT

1шт.

14

NA110000

NUT

1шт.

15

FA110025

BOLT

4шт.

16

WA100000

WASHER

4шт.

17

180404

V-BELT

1шт.

Выбрано товаров: 17