Качественные детали и логистика
Оригинальные и аналоговые запчасти с доставкой по России, Казахстану и Беларуси
©2022 PartSell ООО "Система" ИНН 2463123282 ОГРН 1212400004838
Центральный офис: г. Красноярск, Академика Киренского, д.87, пом.4
Телефон: 8 (800) 777-65-74 Email: zakaz@partsell.ru
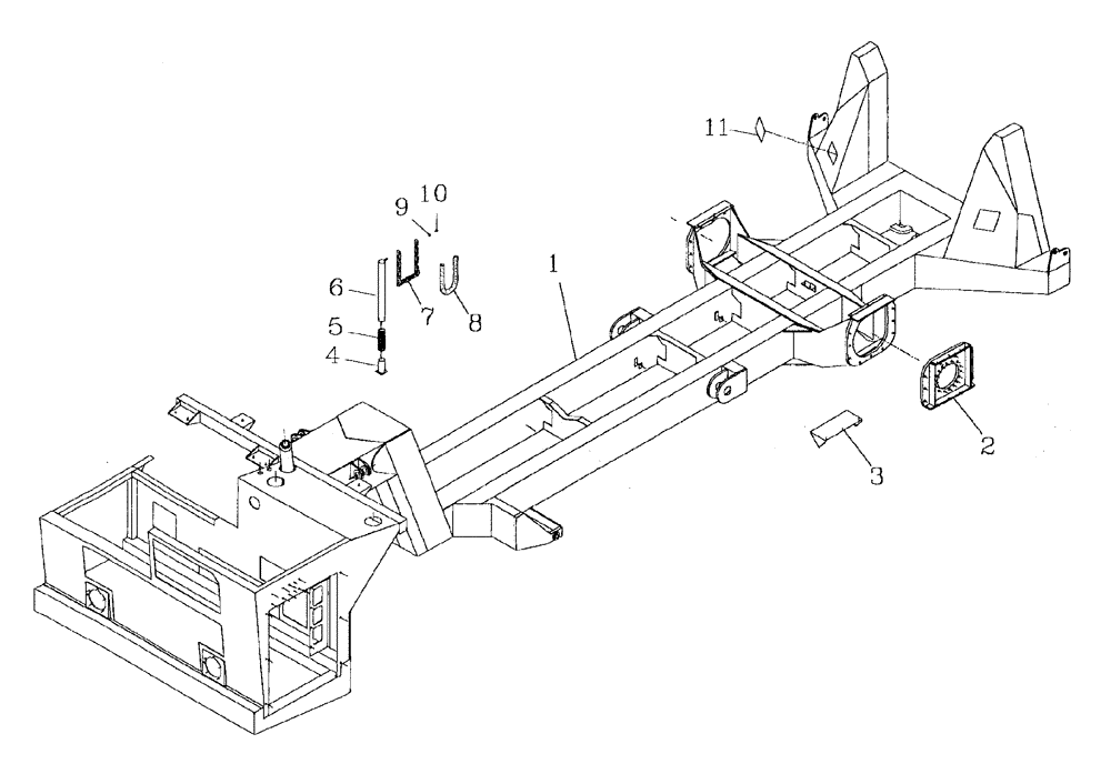
(A01-01) - CHASSIS
№
Артикул
Название
Примечание
Количество
1
87252266
CHASSIS
1шт.
2
87234039
MOUNT
2шт.
3
87236134
PLATE
cover
4
87219105
5
87217637
SPRING
6
87219102
STICK pogo
7
87219107
CHAIN
8
87219106
HOSE
9
WA080000
WASHER
10
NC108000
NUT
11
87238009
COVER
Выбрано товаров: 0