Запчасти Case IH AUSTOFT (A03-03) - CABIN MOUNT Mainframe & Functioning Components

Схема запчастей Case IH AUSTOFT - (A03-03) - CABIN MOUNT Mainframe & Functioning Components
1
9
3
2
10
8
4
6
5
7
FIT
1:1
100%

Артикул

Название

Примечание

Количество

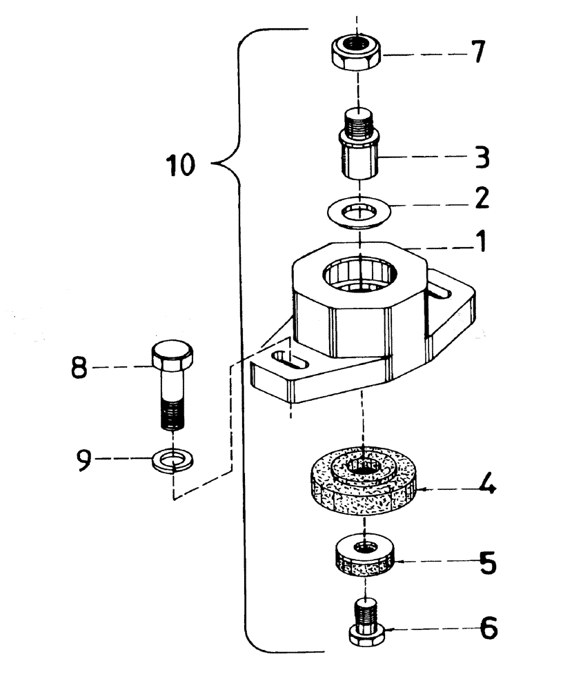
1

87217410

HOUSING

HOUSING

1шт.

2

87217400

WASHER

1шт.

3

87217398

PIN

1шт.

4

87217403

DISC

1шт.

5

87217402

WASHER

1шт.

6

00606755

BOLT

1шт.

7

00606220

LOCK NUT

1шт.

8

FA112045

BOLT

2шт.

9

WB120000

WASHER

2шт.

10

87217405

RUBBER MOUNTING,86mm OD x 83mm L

ASSEMBLY

1шт.

Выбрано товаров: 0