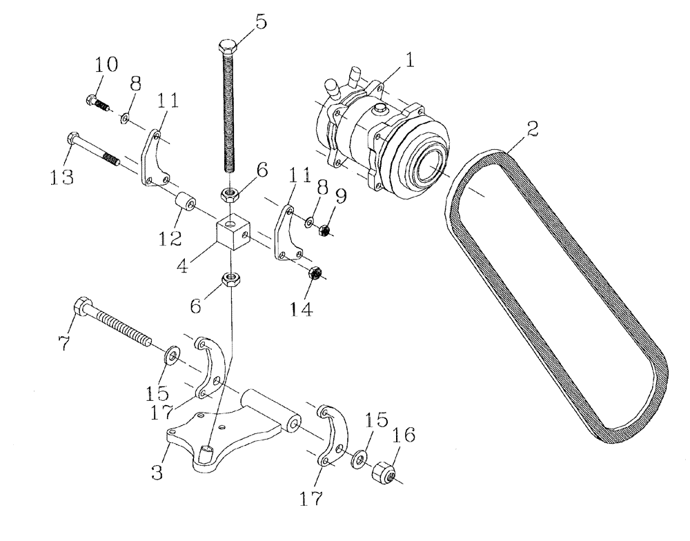
Запчасти Case IH AUSTOFT (A05-02) - AIR CONDITIONER COMPRESSOR / BELT / MOUNT Mainframe & Functioning Components

Схема запчастей Case IH AUSTOFT - (A05-02) - AIR CONDITIONER COMPRESSOR / BELT / MOUNT Mainframe & Functioning Components
4
7
3
5
17
2
11
10
15
6
14
12
16
9
11
8
1
13
15
17
6
8
FIT
1:1
100%

Артикул

Название

Примечание

Количество

1

00181083

AIRCOND. COMPRESSOR

1шт.

2

00180399

BELT

1шт.

3

87248641

MOUNTING PARTS

1шт.

4

87237016

BLOCK

1шт.

5

87241798

SCREW,235mm

1шт.

6

NA116000

NUT

2шт.

7

FA116150

BOLT

BOLT

1шт.

8

WA100000

WASHER

4шт.

9

NC110000

NUT

5шт.

10

FA110035

BOLT

4шт.

11

87238480

LUG

2шт.

12

87238482

BOSS

1шт.

13

FM112100

BOLT

1шт.

14

NC112000

NUT

1шт.

15

WA160000

WASHER

2шт.

16

NC116000

NUT

1шт.

17

87248644

LUG

2шт.

Выбрано товаров: 17