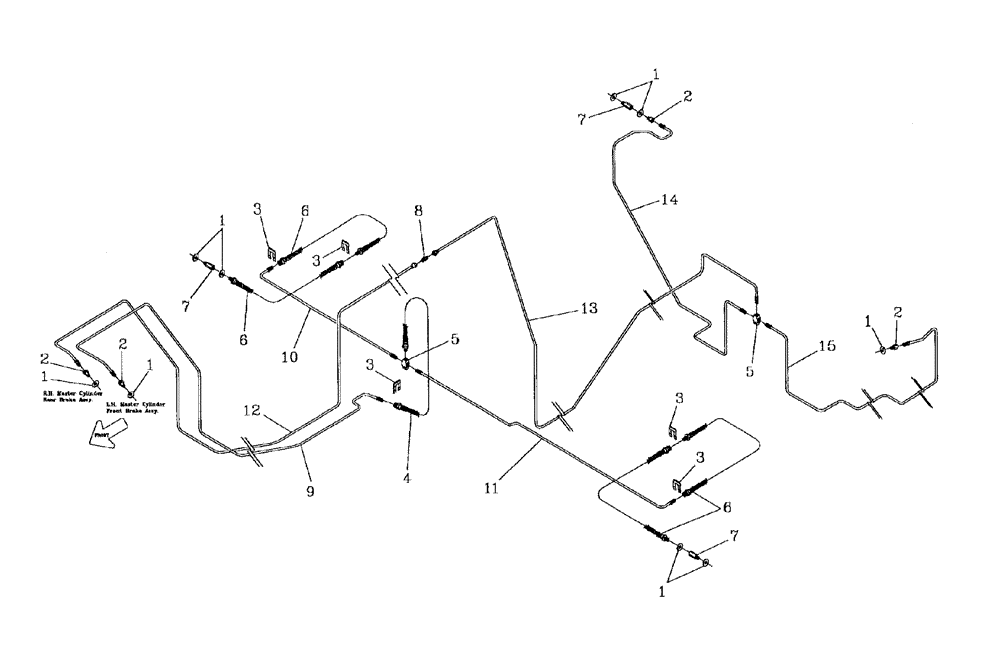
Запчасти Case IH AUSTOFT (B06-01) - HYDRAULIC CIRCUIT (BRAKES) Hydraulic Components & Circuits

Схема запчастей Case IH AUSTOFT - (B06-01) - HYDRAULIC CIRCUIT (BRAKES) Hydraulic Components & Circuits
9
4
10
6
15
11
2
2
1
3
1
6
1
3
3
2
5
7
5
6
2
1
7
1
1
12
3
3
7
14
8
13
FIT
1:1
100%

Артикул

Название

Примечание

Количество

1

00133792

WASHER

9шт.

2

00138717

ADAPTER

4шт.

3

00138720

HOSE CLAMP

CLIP

5шт.

4

00182074

BRAKE LINE

HOSE

1шт.

5

00138714

TEE

2шт.

6

00138713

HOSE ASSY.

4шт.

7

87226428

ADAPTER

3шт.

8

00138719

JOINER

1шт.

9

87248705

TUBE

1шт.

10

87222283

TUBE

1шт.

11

87222285

TUBE

1шт.

12

87222280

TUBE

1шт.

13

87216587

TUBE

1шт.

14

87216583

TUBE

1шт.

15

87216585

TUBE

1шт.

Выбрано товаров: 15