Запчасти Case IH AUSTOFT (C01-02) - WATER SEPARATOR AND FUEL LINES Engine & Engine Attachments

Схема запчастей Case IH AUSTOFT - (C01-02) - WATER SEPARATOR AND FUEL LINES Engine & Engine Attachments
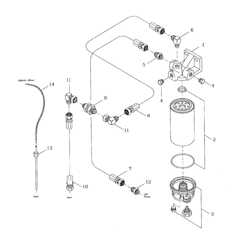
1
2
4
6
7
11
12
9
5
8
3
11
14
4
13
10
FIT
1:1
100%

Артикул

Название

Примечание

Количество

1

00180872

HEAD

COVER

1шт.

2

00180873

ELEMENT

1шт.

3

00139820

BOWL

1шт.

4

00605619

PLUG

2шт.

5

00400165

HYD CONNECTOR

NIPPLE

1шт.

6

00400192

HYD CONNECTOR

ELBOW

1шт.

7

87254806

HOSE

1шт.

8

87236445

HOSE

1шт.

9

00400268

HYD CONNECTOR

NIPPLE

1шт.

10

87254807

HOSE

1шт.

11

00405078

HYD CONNECTOR

ELBOW

2шт.

12

00400164

NIPPLE

1шт.

13

87256241

ADAPTER

1шт.

14

87247926

HOSE

1шт.

Выбрано товаров: 14