Запчасти Case IH AUSTOFT (A04-01) - BATTERY Mainframe & Functioning Components

Схема запчастей Case IH AUSTOFT - (A04-01) - BATTERY Mainframe & Functioning Components
3
11
6
1
2
8
4
10
7
9
12
5
FIT
1:1
100%

Артикул

Название

Примечание

Количество

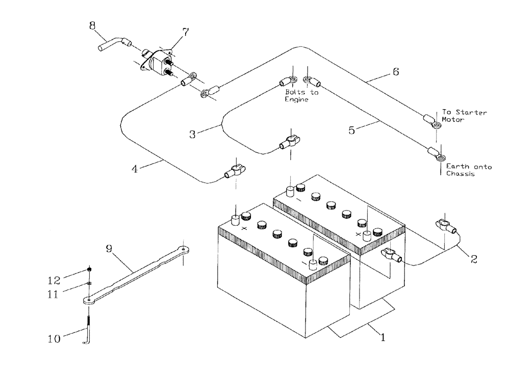
1

00134298

BATTERY

2шт.

2

87242746

ELECTRIC CABLE

1шт.

3

87243316

CABLE

CABLE

1шт.

4

87243319

CABLE

1шт.

5

87243317

CABLE

1шт.

6

87243318

CABLE

1шт.

7

00136176

SWITCH

1шт.

8

00137068

KEY

1шт.

9

87256444

CLAMP

1шт.

10

87229672

ROD

BOLT

2шт.

11

WA060000

WASHER

1шт.

12

NC106000

LOCK NUT

2шт.

Выбрано товаров: 12