Запчасти Case IH AUSTOFT (A05-01) - AIR CONDITIONER Mainframe & Functioning Components

Схема запчастей Case IH AUSTOFT - (A05-01) - AIR CONDITIONER Mainframe & Functioning Components
30
13
8
7
23
21
33
15
16
18
17
31
20
9
17
22
25
3
15
7
28
12
11
2
26
15
6
23
10
35
5
14
15
24
19
4
27
28
34
1
29
32
24
FIT
1:1
100%

Артикул

Название

Примечание

Количество

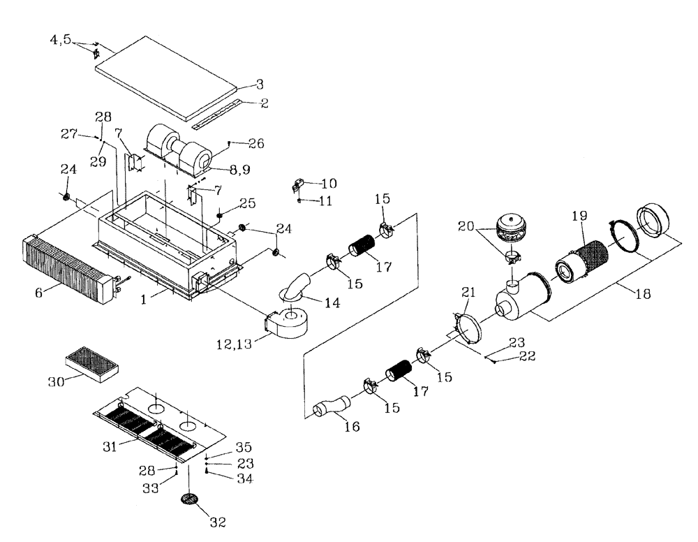
1

87255746

UNIT, welded assembly

1шт.

2

87008300

HINGE

HINGE

1шт.

3

87219115

LID

1шт.

4

00135027

LATCH

1шт.

5

00135028

CATCH

1шт.

6

00181698

EVAPORATOR

1шт.

7

87008000

RETAINING PLATE

BRACKET

1шт.

8

00135548

BLOWER

ASSY.

1шт.

9

00137251

ELECTRIC MOTOR

1шт.

9

00182135

MOUNTING PARTS

GROMMET, motor

2шт.

10

00135318

THERMOSTAT

1шт.

11

00136054

KNOB

1шт.

12

87255748

FAN ASSY.

1шт.

13

00137152

ELECTRIC MOTOR

1шт.

14

87156500

TUBE

ADAPTOR

1шт.

15

00152132

HOSE CLAMP

4шт.

16

87255747

TUBE

1шт.

17

86475800

HOSE,76.20 mm ID x 150.00 mm

2шт.

18

00136203

AIR CLEANER

1шт.

00137252

CLAMP

PART OF 00136203 AIR CLEANER

1шт.

00137253

CUP

PART OF 00136203 AIRCLEANER

1шт.

00181798

WING NUT

PART OF 00136203 AIRCLEANER

1шт.

00181817

BAFFLE

PART OF 00136203 AIR CLEANER

1шт.

19

00137031

AIR FILTER

ELEMENT

1шт.

20

00136204

PRECLEANER

1шт.

21

87234807

CLAMP

2шт.

22

FA108030

BOLT

BOLT

4шт.

23

WB080000

WASHER

7шт.

24

00137164

GROMMET

5шт.

25

00134275

GROMMET

GROMMET

1шт.

26

FC108020

SCREW,M8 x 1.25 x 20mm

4шт.

27

FA106020

BOLT

12шт.

28

WB060000

SPRING WASHER

13шт.

29

WA060000

WASHER

12шт.

30

00135707

AIR FILTER

FILTER

2шт.

31

87218991

PANEL

PANEL

1шт.

32

00135497

VENT

2шт.

33

FA106025

BOLT

5шт.

34

FA108025

BOLT

3шт.

35

WA080000

WASHER

3шт.

Выбрано товаров: 40