Запчасти Case IH 736 (9-50) - BAT REEL (09) - CHASSIS

Схема запчастей Case IH 736 - (9-50) - BAT REEL (09) - CHASSIS
8
7
5
25
19
3
22
27
13
9
10
12
25
21
11
16
18
14
26
17
2
24
15
23
22
1
20
6
4
FIT
1:1
100%

Артикул

Название

Примечание

Количество

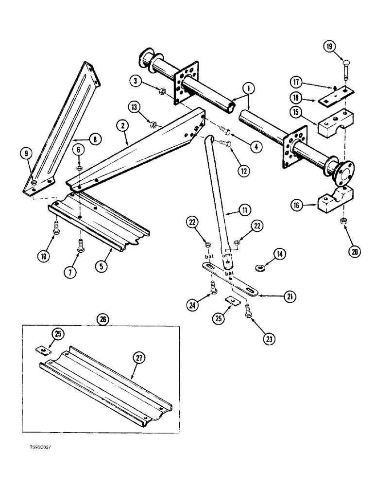
1

90967C1

SHAFT

- reel, 21 foot

1шт.

For bat reel shafts used on 36 foot models, see Fig. 9-52.

1шт.

1

1276526C1

SHAFT

- reel, 25 foot

1шт.

For bat reel shafts used on 36 foot models, see Fig. 9-52.

1шт.

1

1276527C1

SHAFT

- reel, 30 foot

1шт.

For bat reel shafts used on 36 foot models, see Fig. 9-52.

1шт.

2

1276529C1

ARM

- reel

1шт.

3

231-5146

FLANGE NUT,3/8"-16

1шт.

4

409-7612

BOLT,3/8"-16 x 1.09" OAL

- hex serrated flange, 3/8 NC x 3/4 inch

1шт.

5

84261798

BAT

- reel, 36 foot, 18 foot sections

10шт.

5

1960429C1

BAT

- reel, 21 foot

5шт.

5

1336601C1

BAT

- reel, 25 foot

5шт.

5

131485A1

BAT

- reel, 30 foot

5шт.

6

231-5145

SERRATED NUT,Flg, USR, 5/16"-18

NUT - hex serrated flange, 5/16 inch NC

1шт.

7

256873

BOLT,Hex Serr, 5/16" - 18 x 1/2", 5SPL, Full Thd

1шт.

8

825976C2

GUARD

SHIELD - end, 20 used for 36 foot

10шт.

9

231-5145

SERRATED NUT,Flg, USR, 5/16"-18

NUT - hex serrated flange, 5/16 inch NC, 40 used for 36 foot

20шт.

10

256873

BOLT,Hex Serr, 5/16" - 18 x 1/2", 5SPL, Full Thd

40 used for 36 foot Hex Flg, 5/16"-18 x 1/2", Serr

20шт.

11

1960341C1

BRACE

- reel, not used for 36 foot

10шт.

12

154273C1

BOLT,Hex Serr, 3/8" - 16 x 1", Spcl

- hex, self-locking, flange, 3/8 NC x 1 inch

10шт.

13

231-5146

FLANGE NUT,3/8"-16

10шт.

14

495-81136

WASHER,10.31mm ID x 25.4mm OD x 3.81mm Thk

- flat, 13/32 x 1 x 7/64 inch, prior to P.I.N. 1819, not used for 36 foot

10шт.

15

1276522C1

BLOCK

BEARING - wooden, upper, reel shaft, 3 used for 36 foot

2шт.

16

1276523C1

BLOCK

BEARING - wooden, lower, reel shaft, 3 used for 36 foot

2шт.

17

219-16

LUBE NIPPLE,5/16" NPTF

FITTING - grease, 5/16 drive type x 19/32 inch, 3 used for 36 foot

2шт.

18

1276524C1

CAP

- bearing, 3 used for 36 foot

2шт.

19

433-664

CARRIAGE BOLT,Sq Nk, 3/8" - 16 x 4", Gr 5

BOLT - carriage, 3/8 NC x 4 inch, 6 used for 36 foot

4шт.

20

231-4116

NUT,3/8"-16, GB

NUT - hex, self-locking, 3/8 inch NC, 6 used for 36 foot

4шт.

21

1960402C1

STRAP

- brace, not used for 36 foot

10шт.

22

231-5145

SERRATED NUT,Flg, USR, 5/16"-18

NUT - hex serrated flange, 5/16 inch NC

30шт.

23

409-7512

BOLT,Hex Flg, 5/16" - 18 x 3/4", Spcl

- hex serrated flange, 5/16 NC x 3/4 inch

10шт.

24

256873

BOLT,Hex Serr, 5/16" - 18 x 1/2", 5SPL, Full Thd

20шт.

25

823248C1

BAR

WASHER - rectangular

10шт.

26

1337154C1

KIT

- repair , reel bat, includes one bat and 4 washers

1шт.

27

NSS

NOT SOLD SEPARAT

BAT - repair piece, 45-1/2 inch, order 1337154C1 repair kit, item 26

1шт.

Выбрано товаров: 35