Запчасти Case IH 8309 (7-12) - FLOTATION ASSEMBLY, UPPER (58) - ATTACHMENTS/HEADERS

Схема запчастей Case IH 8309 - (7-12) - FLOTATION ASSEMBLY, UPPER (58) - ATTACHMENTS/HEADERS
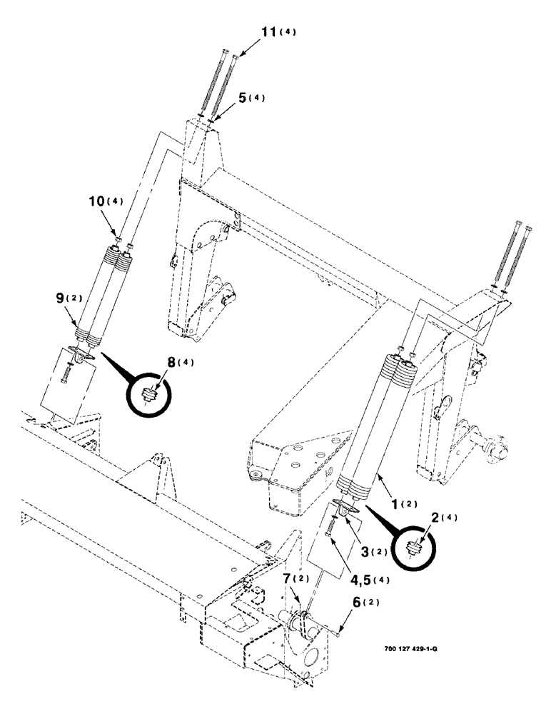
1
3
5
8
6
11
4
9
10
2
5
7
FIT
1:1
100%

Артикул

Название

Примечание

Количество

1

700127280

SPRING

ASSEMBLY (Includes item 2)

2шт.

2

264424

PLUG

- spring

4шт.

3

700127283

MOUNTING PARTS

MOUNTING WA

2шт.

4

413-1024

BOLT,Hex, 5/8" - 11 x 1-1/2", Gr 5

4шт.

5

396-21066

WASHER,16.66mm ID x 33.33mm OD x 4.27mm Thk

- 5/8" bolt size 21/32" x 1 5/16" x .150", HDN

8шт.

6

A35113

PIN

3/4 X 2 CLEVIS PIN

2шт.

7

432-1020

COTTER PIN,5/32" x 1 1/4"

PIN, SPLIT (COTTER), 5/32" x 1 1/4"

2шт.

8

287813

PLUG

- spring

4шт.

9

700128232

SPRING

ASSEMBLY (Includes item 8)

2шт.

10

425-1010

NUT,5/8"-11, G5

4шт.

11

8701864

BOLT,Hex, 5/8" - 11 x 15", Gr 5, Full Thd

5/8-11 X 15 FTB

4шт.

Выбрано товаров: 11