Запчасти Case IH 8309 (7-24) - SHIELD ASSEMBLY, LEFT (90) - PLATFORM, CAB, BODYWORK AND DECALS

Схема запчастей Case IH 8309 - (7-24) - SHIELD ASSEMBLY, LEFT (90) - PLATFORM, CAB, BODYWORK AND DECALS
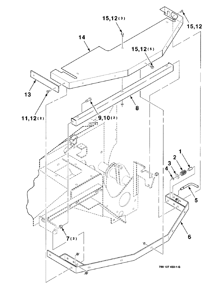
7
8
3
2
15
12
5
9
1
15
12
4
14
13
15
10
12
12
11
6
FIT
1:1
100%

Артикул

Название

Примечание

Количество

1

700127237

SPACER

1шт.

2

8058000

SPRING

- compression

1шт.

3

495-21056

WASHER,1/2"

1/2 HARDENED PLAIN WASHER

1шт.

4

700711833

RING

- retaining, external

1шт.

5

700127210

PIN

1шт.

6

700127504

SUPPORT

WA - shield

1шт.

7

6243943

BUSHING

SPACER

2шт.

8

700127531

SUPPORT

- shield, left

1шт.

9

413-824

BOLT,Hex, 1/2" - 13 x 1-1/2", Gr 5

2шт.

10

231-5148

FLANGE NUT,Flg, USR, 1/2"-13

2шт.

11

121-108

BOLT,Hex Flg, 5/16"-18 x 1 1/4", Serr

5/16-18 X 1 HWHMS

2шт.

12

231-5145

SERRATED NUT,Flg, USR, 5/16"-18

NUT, Flg, USR, 5/16"-18

11шт.

13

700127230

STRAP

- retainer

1шт.

14

700127523

SHIELD

- left

1шт.

15

121-115

SERRATED BOLT,Hex, 5/16" - 18 x 3/4"

9шт.

Выбрано товаров: 15