Запчасти Case IH 8312 (8-02) - HYDRAULIC ASSEMBLY, TONGUE (35) - HYDRAULIC SYSTEMS

Схема запчастей Case IH 8312 - (8-02) - HYDRAULIC ASSEMBLY, TONGUE (35) - HYDRAULIC SYSTEMS
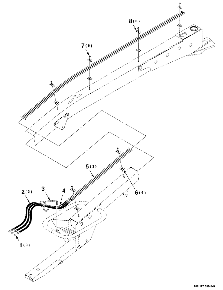
5
1
4
7
6
3
2
8
FIT
1:1
100%

Артикул

Название

Примечание

Количество

1

793976

CAP

3шт.

2

700711860

HYDRAULIC HOSE,9.65 mm ID x 2100.00 mm, SAE 100R1

9.65 mm ID x 2100.00 mm, SAE 100R1

3шт.

3

700127382

HANGER

WA

1шт.

4

432-1028

COTTER PIN,5/32" x 1 3/4"

PIN, SPLIT (COTTER), 5/32" x 1 3/4"

1шт.

5

700711836

TUBE,9.52 mm OD, 4560 mm Length

LINE - hydraulic

3шт.

6

700121168

PAD

6шт.

7

232-5316

FLANGE NUT,Flg, 3/8"-16

3/8-16 HFTLN GR/G

6шт.

8

6246995

CLAMP

6шт.

Выбрано товаров: 8