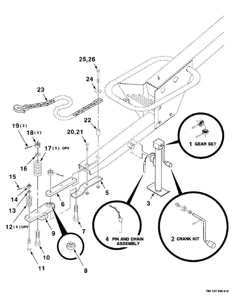
Запчасти Case IH 8312 (7-02) - HITCH AND JACK ASSEMBLY, STANDARD (37) - HITCHES, DRAWBARS & IMPLEMENT COUPLINGS

Схема запчастей Case IH 8312 - (7-02) - HITCH AND JACK ASSEMBLY, STANDARD (37) - HITCHES, DRAWBARS & IMPLEMENT COUPLINGS
17
2
23
14
6
21
12
20
10
7
8
4
3
11
19
13
15
22
24
1
9
5
25
16
18
26
FIT
1:1
100%

Артикул

Название

Примечание

Количество

1

700702059

KIT

GEAR SET

1шт.

2

700702060

CRANKED HANDLE

CRANK KIT

1шт.

3

700709385

JACK

(Incl. items 1, 2 & 4)

1шт.

4

700709409

LINK CHAIN

PIN AND CHAIN ASSEMBLY

1шт.

5

700127347

MOUNTING PARTS

MOUNTING - hitch, lower

1шт.

6

700127346

STRAP

- hitch

1шт.

7

6471791

BOLT

1-8 X 5 BOLT - hitch

1шт.

8

D51609

BALL JOINT

BEARING

1шт.

9

700127356

BAR

WA - hitch, extension (includes item 8)

1шт.

10

700116537

SCREW

1-8 X 4-1/2 CAP SCREW - special

1шт.

11

700116536

SCREW

5/8-11 X 4 CAP SCREW - special

1шт.

12

396-21066

WASHER,16.66mm ID x 33.33mm OD x 4.27mm Thk

- 5/8" bolt size 21/32" x 1 5/16" x .150", HDN

6шт.

13

492-11062

BEARING WASHER,5/8"

WASHER, LOCK, 5/8"

1шт.

14

425-1210

SLOTTED NUT,Hex, 5/8"-11, G5

1шт.

15

432-1028

COTTER PIN,5/32" x 1 3/4"

PIN, SPLIT (COTTER), 5/32" x 1 3/4"

1шт.

16

192-171

LOCK WASHER,1"

WASHER, LOCK, 1"

1шт.

17

495-21106

WASHER,1"

1 HARDENED PLAIN WAHSER

5шт.

18

425-1216

SLOTTED NUT,Hex, 1"-8, G5

2шт.

19

432-1240

COTTER PIN,3/16" x 2 1/2"

3/16" x 2 1/2"

2шт.

20

413-1248

BOLT,Hex, 3/4" - 10 x 3", Gr 5

.75 X 3 UNC GR5 YZD

1шт.

21

232-53112

FLANGE NUT,Flg, 3/4"-10

3/4-10 HFTLN GR/G

1шт.

22

6843825

SPACER

1шт.

23

700705598

CHAIN (CE)

CHAIN - safety

1шт.

24

6251169

WASHER

1шт.

25

413-1088

BOLT,Hex, 5/8" - 11 x 5-1/2", Gr 5

5/8-11 X 5-1/2 C

1шт.

26

232-53110

FLANGE NUT,Flg, 5/8"-11

5/8-11 HFTLN GR/G

1шт.

Выбрано товаров: 26