Запчасти Case IH 8312 (5-04) - GEARBOX ASSEMBLY, 700711856 GEARBOX ASSEMBLY COMPLETE (58) - ATTACHMENTS/HEADERS

Схема запчастей Case IH 8312 - (5-04) - GEARBOX ASSEMBLY, 700711856 GEARBOX ASSEMBLY COMPLETE (58) - ATTACHMENTS/HEADERS
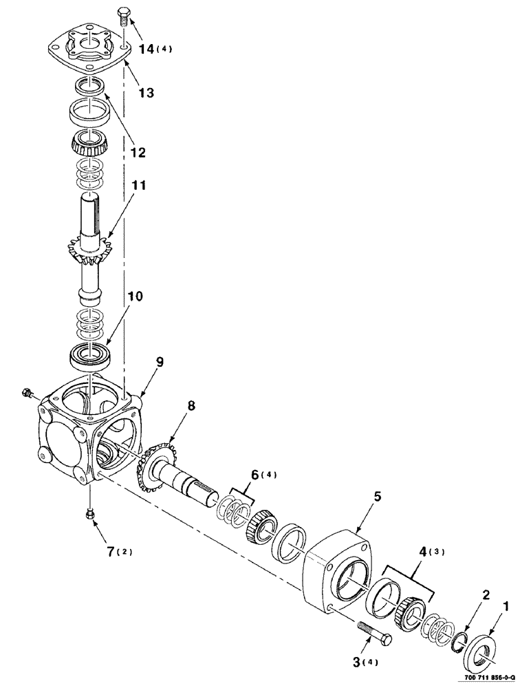
10
13
14
3
6
2
8
12
5
9
11
1
7
4
FIT
1:1
100%

Артикул

Название

Примечание

Количество

700711856

GEARBOX ASSY

GEARBOX ASSEMBLY COMPLETE

1шт.

700711856R

REMAN-TRANSMISSION

Remanufactured GEARBOX, N.A. Only

1шт.

700711856C

CORE-TRANSMISSION

Return Number, Gearbox, N.A. Only

1шт.

1

700712389

OIL SEAL

- oil, 35 mm ID x 72 mm OD

1шт.

2

700712388

RING

- retaining

1шт.

3

700712386

BOLT

M12 X 1.75 X 65 C

4шт.

4

700712361

BEARING,35mm ID x 72mm OD x 24.25mm W

ASM (includes cup and cone)

3шт.

5

700712385

EXTENSION

- gearbox

1шт.

6

700712360

SHIM KIT

SHIM PACK

4шт.

7

700712384

PLUG

2шт.

8

700712390

GEAR

1шт.

9

700712382

CASING

- gearbox

1шт.

10

ST205A

BEARING, BALL,35 mm ID x 72 mm OD x 17 mm

BEARING - cylindrical

1шт.

11

700712391

SHAFT

- pinion

1шт.

12

700712392

OIL SEAL

- oil, 35 mm ID x 52 mm OD

1шт.

13

700712387

COVER

- gearbox

1шт.

14

614-12025

BOLT,Hex, M12 x 1.75 x 25mm, Cl 8.8, Full Thd

- hex, full threads, 12 - 1.75 x 25 mm

4шт.

Выбрано товаров: 17