Запчасти Case IH 8312 (5-24) - HAY CONDITIONER, TICOR, ASSEMBLY (58) - ATTACHMENTS/HEADERS

Схема запчастей Case IH 8312 - (5-24) - HAY CONDITIONER, TICOR, ASSEMBLY (58) - ATTACHMENTS/HEADERS
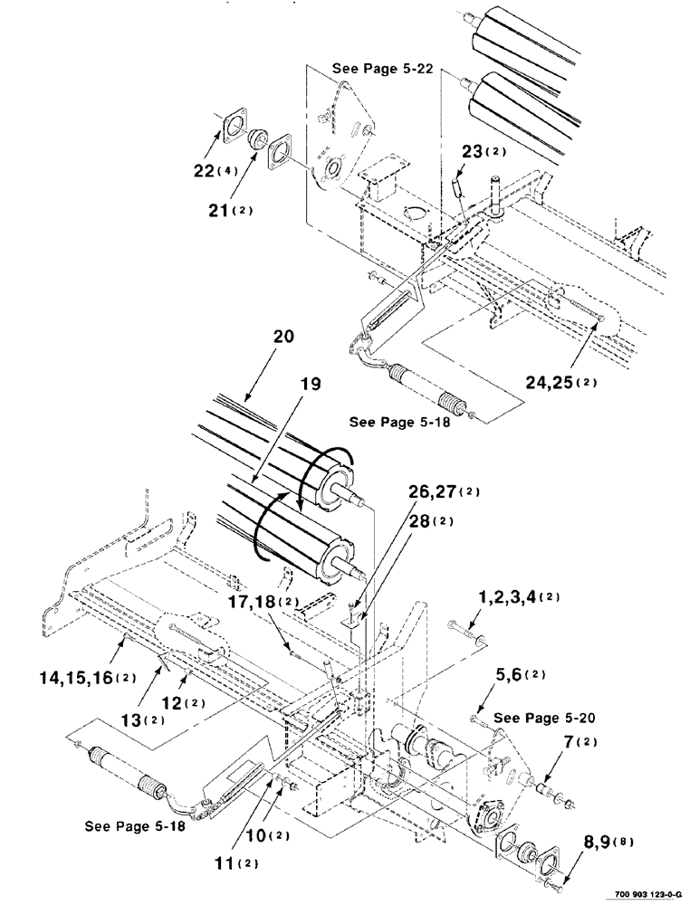
16
17
12
10
8
15
21
4
14
1
25
22
9
20
27
11
19
3
18
28
2
6
23
26
7
24
5
13
FIT
1:1
100%

Артикул

Название

Примечание

Количество

1

413-1056

BOLT,Hex, 5/8" - 11 x 3-1/2", Gr 5

2шт.

2

396-21066

WASHER,16.66mm ID x 33.33mm OD x 4.27mm Thk

- 5/8" bolt size 21/32" x 1 5/16" x .150", HDN

2шт.

3

700711165

WASHER,17.3mm ID x 45.21mm OD x 4.06mm Thk

5/8 PLAIN WASHER - SPL

2шт.

4

232-53110

FLANGE NUT,Flg, 5/8"-11

5/8-11 HFTLN GR/G

2шт.

5

413-832

BOLT,Hex, 1/2" - 13 x 2", Gr 5

2шт.

6

231-5348

FLANGE NUT,Flg, 1/2"-13

1/2-13 HFTLN GR/G

2шт.

7

6834394

BUSHING,17.46mm ID x 31.75mm OD x 53.5mm L

2шт.

8

413-816

BOLT,Hex, 1/2" - 13 x 1", Gr 5

8шт.

9

495-21056

WASHER,1/2"

1/2 HARDENED PLAIN WASHER

8шт.

10

385625

WASHER

2шт.

11

700108790

SPACER

2шт.

12

6264998

SPACER

2шт.

13

700127195

FILLER

- H/C

2шт.

14

433-540

CARRIAGE BOLT,Sq Nk, 5/16" - 18 x 2 1/2", Gr 5

5/16-18 X 2-1/2 RHSNB

2шт.

15

496-21034

WASHER,11/32" x 11/16" x 0.89", HDN

2шт.

16

425-105

NUT,5/16"-18, G5

2шт.

17

413-524

BOLT,Hex, 5/16" - 18 x 1-1/2", Gr 5

2шт.

18

232-5315

FLANGE NUT,Flg, 5/16"-18

5/16-18 HFTLN GR/G

2шт.

19

700712170

ROLL

- Ticor, RH spiral

1шт.

20

700712169

ROLL

- Ticor, LH spiral

1шт.

21

663559R91

BEARING, BALL,1.5" ID

BEARING

2шт.

22

1307583C1

FLANGED BEARING

- bearing

4шт.

23

700118107

PIN,22.23mm OD x 80.01mm L

2шт.

24

873513

BOLT,Hex, 1/2" - 13 x 6", Gr 5, Full Thd

1/2-13 X 6 FTC

2шт.

25

425-108

NUT,1/2" - 13, Gr 5

NUT, 1/2"-13, G5

2шт.

26

121-115

SERRATED BOLT,Hex, 5/16" - 18 x 3/4"

2шт.

27

231-5145

SERRATED NUT,Flg, USR, 5/16"-18

NUT, , GR/F Flg, USR, 5/16"-18

2шт.

28

700127123

LARGE PLATE

GAUGE

2шт.

Выбрано товаров: 28