Запчасти Case IH 8312 (7-18) - HEADER FLOTATION ASSEMBLY (58) - ATTACHMENTS/HEADERS

Схема запчастей Case IH 8312 - (7-18) - HEADER FLOTATION ASSEMBLY (58) - ATTACHMENTS/HEADERS
11
15
2
12
10
8
13
23
9
14
5
18
2
4
1
2
5
24
5
22
17
21
7
20
16
3
6
19
2
FIT
1:1
100%

Артикул

Название

Примечание

Количество

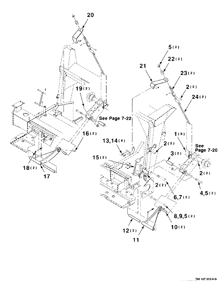
1

432-816

COTTER PIN,1/8" x 1"

1/8" x 1"

8шт.

2

427-8136

CLEVIS PIN,1/2" x 1.360"

1/2 X 1-1/4 CLEVIS PIN

8шт.

3

700127304

BUSHING

- strut

2шт.

4

413-1280

BOLT,Hex, 3/4" - 10 x 5", Gr 5

2шт.

5

232-53112

FLANGE NUT,Flg, 3/4"-10

3/4-10 HFTLN GR/G

6шт.

6

413-1696

BOLT,Hex, 1" - 8 x 6", Gr 5

1-8 X 6 C

2шт.

7

425-1416

JAM NUT,Jam, 1"-8, G5

1-8 HJN GR 2

2шт.

8

426-12192

BOLT,Hex, 3/4" - 10 x 12", Gr 8

3/4-10 X 12 B

2шт.

9

705566

WASHER

3/4 HARDENED PLAIN WASHER

2шт.

10

700127307

SPACER

- hardened

2шт.

11

700127298

ARM

WA - lower, left

1шт.

12

700127286

SPACER

2шт.

13

121-226

SERRATED BOLT,Hex, 3/8" - 16 x 1"

4шт.

14

232-5316

FLANGE NUT,Flg, 3/8"-16

3/8-16 HFTLN GR/G

4шт.

15

700711880

CHAIN (AG)

CHAIN

2шт.

16

219-8

LUBE NIPPLE,1/4" - 28 NPTF

NIPPLE, LUBE, , straight, taper 1/4"-28 NPT x .54" lg

2шт.

17

700127302

ARM

WA - lower right

1шт.

18

219-93

LUBE NIPPLE,90 Degree Elbow, 1/4" - 28 NPTF

2шт.

19

219-90

LUBE NIPPLE,45 Degree Elbow, 1/4" -28 NPTF

1/4-28 X 45 DEGREE ZERK

2шт.

20

700127405

SUPPORT

- right

1шт.

21

700127404

SUPPORT

- left

1шт.

22

858696

SPRING

- compression

2шт.

23

700127305

CLEVIS

WA

2шт.

24

700712002

CHAIN (AG)

CHAIN

2шт.

Выбрано товаров: 24