Запчасти Case IH 8312 (7-32) - SHIELDS ASSEMBLY, CUTTERBAR (90) - PLATFORM, CAB, BODYWORK AND DECALS

Схема запчастей Case IH 8312 - (7-32) - SHIELDS ASSEMBLY, CUTTERBAR (90) - PLATFORM, CAB, BODYWORK AND DECALS
18
12
2
23
3
14
14
8
13
21
22
1
24
3
11
16
10
20
17
9
3
4
2
6
19
15
3
25
7
5
FIT
1:1
100%

Артикул

Название

Примечание

Количество

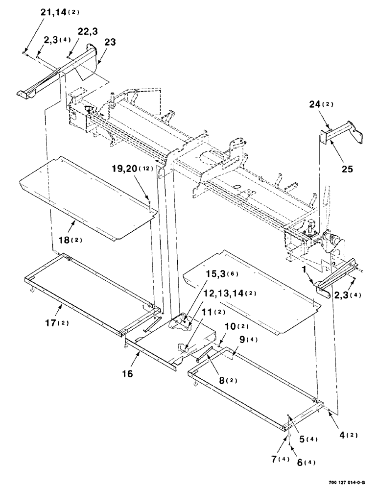
1

700127203

SUPPORT

WA - front, left

1шт.

2

121-226

SERRATED BOLT,Hex, 3/8" - 16 x 1"

8шт.

3

231-5146

FLANGE NUT,3/8"-16

15шт.

4

158675

SPACER

2шт.

5

1954816C1

LOCK NUT

#12-24 HCLN

4шт.

6

700707203

CAPTIVE WASHER SCREW

#12-24 X 3/4 HWHMS

4шт.

7

700708648

BUMPER

RUBBER BUMPER

4шт.

8

700127224

LATCH

WA

2шт.

9

432-1012

COTTER PIN,5/32" x 3/4"

5/32" x 3/4"

4шт.

10

6547863

SPACER

2шт.

11

496-11041

WASHER,13/32" x 13/16" x .065", HDN

3/8 HARDENED PLAIN WASHER

2шт.

12

413-832

BOLT,Hex, 1/2" - 13 x 2", Gr 5

2шт.

13

495-21056

WASHER,1/2"

1/2 HARDENED PLAIN WASHER

2шт.

14

231-5148

FLANGE NUT,Flg, USR, 1/2"-13

4шт.

15

121-237

SERRATED BOLT,Hex, 3/8" - 16 x 1 1/4, Spcl

3/8-16 X 1-1/4 HFS GR8

6шт.

16

700127232

SUPPORT

WA - shield, center

1шт.

17

700127219

SUPPORT

WA - shield, center

2шт.

18

700127227

SHIELD

- center

2шт.

19

121-115

SERRATED BOLT,Hex, 5/16" - 18 x 3/4"

12шт.

20

231-5145

SERRATED NUT,Flg, USR, 5/16"-18

NUT, Flg, USR, 5/16"-18

12шт.

21

413-852

BOLT,Hex, 1/2" - 13 x 3-1/4", Gr 5

1/2-13 X 3-1/4 C

2шт.

22

409-7612

BOLT,3/8"-16 x 1.09" OAL

3/8-16 X 3/4 HWHMS

1шт.

23

700127211

SUPPORT

WA - right

1шт.

24

121-425

FLANGE BOLT,Hex, 1/2" - 13 x 1", Gr 8

1/2-13 X 1 HFS GR8

2шт.

25

700127199

ARM

SUPPORT WA - rear, left

1шт.

Выбрано товаров: 25