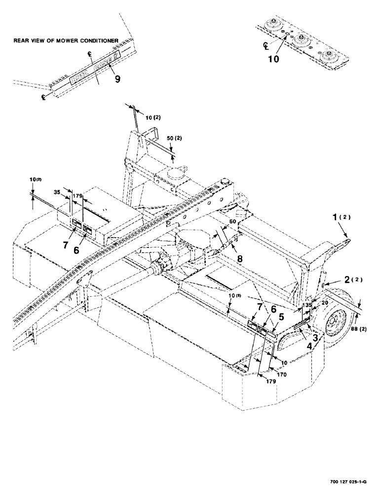
Запчасти Case IH 8312 (9-12) - DECALS AND LOCATION DIAGRAM, HEADER, S.N. CFH0106529 AND LATER (90) - PLATFORM, CAB, BODYWORK AND DECALS

Схема запчастей Case IH 8312 - (9-12) - DECALS AND LOCATION DIAGRAM, HEADER, S.N. CFH0106529 AND LATER (90) - PLATFORM, CAB, BODYWORK AND DECALS
6
7
9
7
8
2
4
5
10
3
1
6
FIT
1:1
100%

Артикул

Название

Примечание

Количество

1

878660

REFLECTOR

- red

2шт.

2

700706023

DECAL

- safety stop

2шт.

3

700713551

DECAL

- danger

1шт.

4

700712613

DECAL

- notice

1шт.

5

878694

REFLECTOR

- amber

1шт.

6

700714362

DECAL

- warning

2шт.

7

700714361

DECAL

- warning

2шт.

8

700705829

DECAL

- guard angle

1шт.

9

700714270

DECAL

- combo, rear

1шт.

10

700713252

DECAL

- factory filled

1шт.

Выбрано товаров: 10