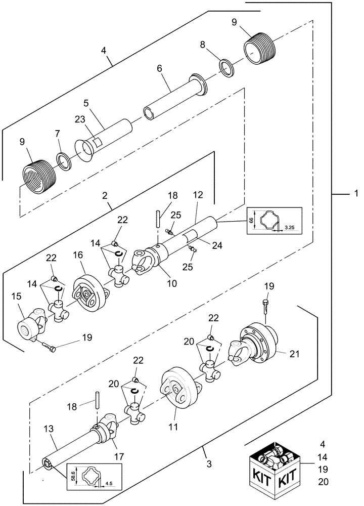
Запчасти Case IH DC102 (01.06[02]) - SECONDARY PTO W/SLIP CLUTCH, FOR SWIVEL TONGUE (01) - PTO DRIVE SHAFT

Схема запчастей Case IH DC102 - (01.06[02]) - SECONDARY PTO W/SLIP CLUTCH, FOR SWIVEL TONGUE (01) - PTO DRIVE SHAFT
15
12
25
16
20
1
11
23
22
6
20
14
22
18
4
8
18
14
7
21
2
10
4
3
19
22
14
24
19
25
22
19
9
9
5
17
13
20
FIT
1:1
100%

Артикул

Название

Примечание

Количество

1

0C

ORDER COMPONENTS

PTO, Secondary W/ Overriding Clutch

1шт.

2

84290552

SHAFT

Front, Includes: Ref. 4, 10, 12, 14 Thru 16, 18 and 19.

1шт.

3

84290550

SHAFT

Rear, Includes: Ref. 4, 11, 13, 17 Thru 21.

1шт.

4

84290549

GUARD

Set; Includes: Ref. 5 Thru 9

1шт.

5

NSS

NOT SOLD SEPARAT

Shield, Outer

1шт.

6

NSS

NOT SOLD SEPARAT

Shield, Inner

6шт.

7

87517831

BEARING COVER,89.4 mm ID x 132 mm OD x 12 mm

Bearing

1шт.

8

86979196

BEARING,86mm ID x 132mm OD x 12mm H

Bearing

1шт.

9

NSS

NOT SOLD SEPARAT

Bell

2шт.

10

87558315

YOKE,66 mm ID x 117 mm L

Tube, Front PTO

1шт.

11

87558243

HOUSING

Center

1шт.

12

84290554

TUBE,1255 mm L

Outer, Front PTO

1шт.

13

84290553

TUBE,1275 mm L

Inner, Rear PTO

1шт.

14

87565739

U-JOINT SPIDER

Kit, Cross; Includes: Snap Ring & Lube Fitting

2шт.

15

87558239

YOKE

Includes: Ref. 19

1шт.

16

87558241

HOUSING

Center

1шт.

17

87558242

YOKE,58.5 mm ID x 105 mm L

Tube, Rear PTO

1шт.

18

87517826

ROLL PIN,10.5mm OD x 95mm L

2шт.

19

86625865

KIT

Kit, Contains 3 pins, 2 nuts, & 1 washer.

2шт.

20

87558240

U-JOINT SPIDER,30.2mm Cap Dia, 106mm L, Grease-able

Kit, Cross; Includes: Snap Ring & Lube Fitting

2шт.

21

87565192

PTO CLUTCH

For Component Breakdown, Refer To Fig. 01.07

1шт.

22

321204

LUBE NIPPLE,M6 x 1.0 x 16mm OAL

4шт.

23

849471

DANGER DECAL

1шт.

24

849472

DANGER DECAL

1шт.

25

87012758

LUBE NIPPLE

LUBRICATOR

2шт.

Выбрано товаров: 25