Запчасти Case IH DC132 (01.07) - COMPACT CLUTCH W/CLAMP & HUB (01) - PTO DRIVE SHAFT

Схема запчастей Case IH DC132 - (01.07) - COMPACT CLUTCH W/CLAMP & HUB (01) - PTO DRIVE SHAFT
11
20
28
1
8
22
10
18
21
5
17
25
15
19
9
11
27
16
26
3
21
6
2
22
12
13
24
14
7
23
4
FIT
1:1
100%

Артикул

Название

Примечание

Количество

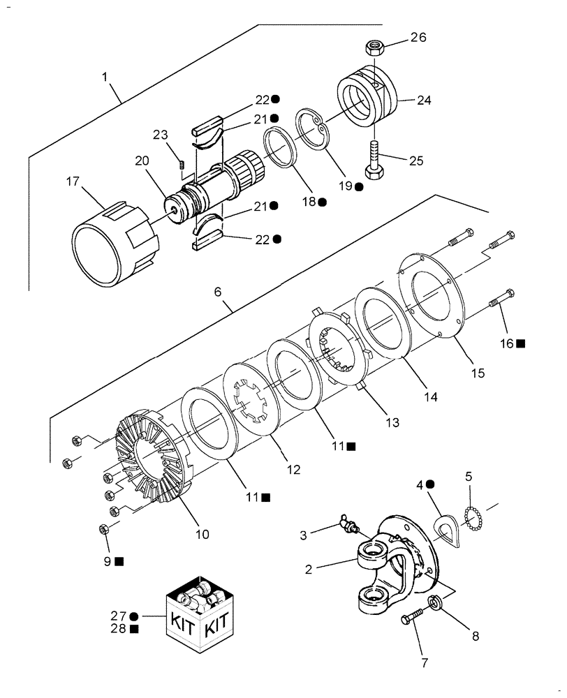
1

0C

ORDER COMPONENTS

Clutch

1шт.

2

86603733

YOKE

Includes: Ref. 3

1шт.

3

87414

LUBE NIPPLE,1/4" - 28

1шт.

4

NSS

NOT SOLD SEPARAT

Spring, Wave

1шт.

5

86585468

BALL

31шт.

6

86601367

CLUTCH, PRESSURE PLA,177.8mm OD

Includes: Ref. 7 - 16

1шт.

7

280341

BOLT,Hex, 5/16" - 18 x 1", Gr 8, Full Thd

4шт.

8

80681

LOCK WASHER,5/16"

4шт.

9

9635082

NUT,5/16" - 18, Gr 5

6шт.

10

NSS

NOT SOLD SEPARAT

Housing

1шт.

11

86539879

DISC

Friction

2шт.

12

86601371

CLUTCH PLATE

1шт.

13

NSS

NOT SOLD SEPARAT

Plate, Pressure

1шт.

14

86551193

SPRING

1шт.

15

NSS

NOT SOLD SEPARAT

Plate, Compression

1шт.

16

14948

BOLT,Hex, 5/16" - 18 x 2 1/2", Gr 8

6шт.

17

86601370

HUB

Outer

1шт.

18

NSS

NOT SOLD SEPARAT

Washer

1шт.

19

NSS

NOT SOLD SEPARAT

Retaining Ring

1шт.

20

86601426

HUB

Inner

1шт.

21

NSS

NOT SOLD SEPARAT

Spring, Leaf

2шт.

22

NSS

NOT SOLD SEPARAT

Key

2шт.

23

86602307

SET SCREW,5/16" x 18mm

Set, HS, Self-Locking, Cup Pt, G8, 5/16"-18, (Not Shown)

1шт.

24

86598607

HUB

Clamp, Includes: Ref. 25 & 26

1шт.

25

9818286

BOLT,Hex, 1/2" - 13 x 3 1/2", Gr 8

2шт.

26

88871

NUT,1/2"-13, GC

2шт.

27

86572966

REPAIR KIT

Overrunning, Includes: Ref. 4, 18, 19, 21, & 22

1шт.

28

86601404

REPAIR KIT

Friction, Includes: Ref. 9, 11, & 16

1шт.

Выбрано товаров: 28