Запчасти Case IH DC133 (31.201.AG[01]) - PTO, W/ CLUTCH (31) - IMPLEMENT POWER TAKE OFF

Схема запчастей Case IH DC133 - (31.201.AG[01]) - PTO, W/ CLUTCH (31) - IMPLEMENT POWER TAKE OFF
2
19
24
13
21
22
6
2
7
22
10
3
4
13
6
3
20
18
8
25
14
12
9
26
27
17
23
11
16
1
5
15
FIT
1:1
100%

Артикул

Название

Примечание

Количество

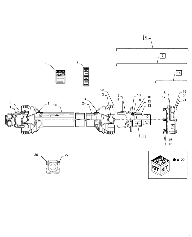
1

86520897

YOKE

1шт.

2

47579377

KIT

Cross

2шт.

3

87050379

REPAIR KIT

2шт.

4

849471

DANGER DECAL

1шт.

5

849472

DANGER DECAL

Shield Missing

1шт.

6

NSS

NOT SOLD SEPARAT

Clutch Assy, Incl 7

1шт.

7

NSS

NOT SOLD SEPARAT

Yoke, Hub Assy, Incl 8 - 22

1шт.

8

86602308

YOKE

1шт.

9

86602307

SET SCREW,5/16" x 18mm

1шт.

10

86585468

BALL

Steel

31шт.

11

86601490

HUB

Inner

1шт.

12

86601370

HUB

Overrunning Outer

1шт.

13

86572966

REPAIR KIT

Overrunning

1шт.

14

86601367

CLUTCH, PRESSURE PLA,177.8mm OD

Friction Pack, Incl 15 - 22

1шт.

15

280341

BOLT,Hex, 5/16" - 18 x 1", Gr 8, Full Thd

4шт.

16

80681

LOCK WASHER,5/16"

4шт.

17

86539879

DISC

Friction

2шт.

18

86601371

CLUTCH PLATE

Separator

1шт.

19

86551193

SPRING

Belleville

1шт.

20

14948

BOLT,Hex, 5/16" - 18 x 2 1/2", Gr 8

6шт.

21

9635082

NUT,5/16" - 18, Gr 5

6шт.

22

86601404

REPAIR KIT

Friction

1шт.

23

47590170

KIT

Guard Complete, 8-Disc

1шт.

23

47590171

KIT

Guard Complete, 10-Disc

1шт.

24

47582377

PTO

Half Shaft Tube

1шт.

25

47582376

PTO SHAFT

Half Shaft, 8-Disc

1шт.

25

47582380

PTO

Half Shaft, 10-Disc

1шт.

25

47579386

GUARD

PTO, Inner

1шт.

25

47595811

GUARD

Guard, Inner

1шт.

26

280620

BOLT,Hex, 1/2" - 13 x 3", Gr 8

1шт.

27

88871

NUT,1/2"-13, GC

1шт.

Выбрано товаров: 31