Запчасти Case IH DC133 (39.110.AM[06]) - GEARBOX. SWIVEL REVERSE (39) - FRAMES AND BALLASTING

Схема запчастей Case IH DC133 - (39.110.AM[06]) - GEARBOX. SWIVEL REVERSE (39) - FRAMES AND BALLASTING
16
1
22
13
26
31
30
18
14
29
3
17
24
24
2
27
6
12
23
12
7
11
18
22
4
16
28
22
20
9
5
12
21
14
13
3
15
16
5
28
13
17
12
25
7
29
23
13
8
10
16
25
19
20
FIT
1:1
100%

Артикул

Название

Примечание

Количество

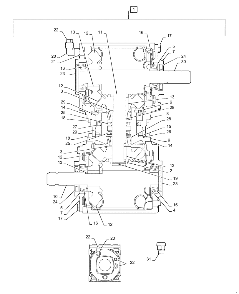
1

84306516

GEARBOX

Swivel Reverse, Incl 2 - 31

1шт.

1

84306516R

REMAN-GEARBOX

Swivel Reverse, Incl 2 - 31

1шт.

1

84306516C

CORE-GEARBOX

Swivel Reverse, Incl 2 - 31

1шт.

2

47371656

NUT

Crown

1шт.

3

47371577

SHIM

Kit

2шт.

4

47373105

SEAL

2шт.

5

1545114C1

SHIM

2шт.

6

84283244

LOCK NUT

1шт.

7

47592397

COVER

2шт.

8

47592396

EXTENSION

External

1шт.

9

47592395

EXTENSION

Internal

1шт.

10

47592394

SHAFT

1-3/8

2шт.

11

47592393

SHAFT

Connection

1шт.

12

47588012

GEAR

Bevel, 21T

4шт.

13

47588011

KEY

Type B

4шт.

14

47592392

GASKET

2шт.

15

47592391

WASHER

Protective

1шт.

16

86018156

BEARING ASSY,35mm ID x 80mm OD x 22.75mm W

Roller

4шт.

17

11106124

BOLT,Hex, M10 x 22mm, Cl 8.8

16шт.

18

86625209

HEX SOC SCREW,M10 x 35mm, Cl 12.9

16шт.

19

300420

COTTER PIN,M5 x 63

1шт.

20

86559215

ELBOW

90 Degree

2шт.

21

47592388

NIPPLE

3/8 Gas

2шт.

22

86557412

PLUG,3/8" - 19 NPT

Pipe

8шт.

23

84814799

COVER

2шт.

24

86539169

SEAL,35mm ID x 72mm OD x 10mm Thk

2шт.

25

47588010

SEAL

Oil

2шт.

26

47588225

O-RING

1шт.

27

47588007

SEAL

Oil

1шт.

28

5172328

TAPERED BEARING,40mm ID x 75mm OD x 26mm W

2шт.

29

47588222

BEARING SET

Roller

2шт.

30

47592409

SHAFT

1-3/8

1шт.

31

86539157

BREATHER,3/8" Gas

1шт.

Выбрано товаров: 33