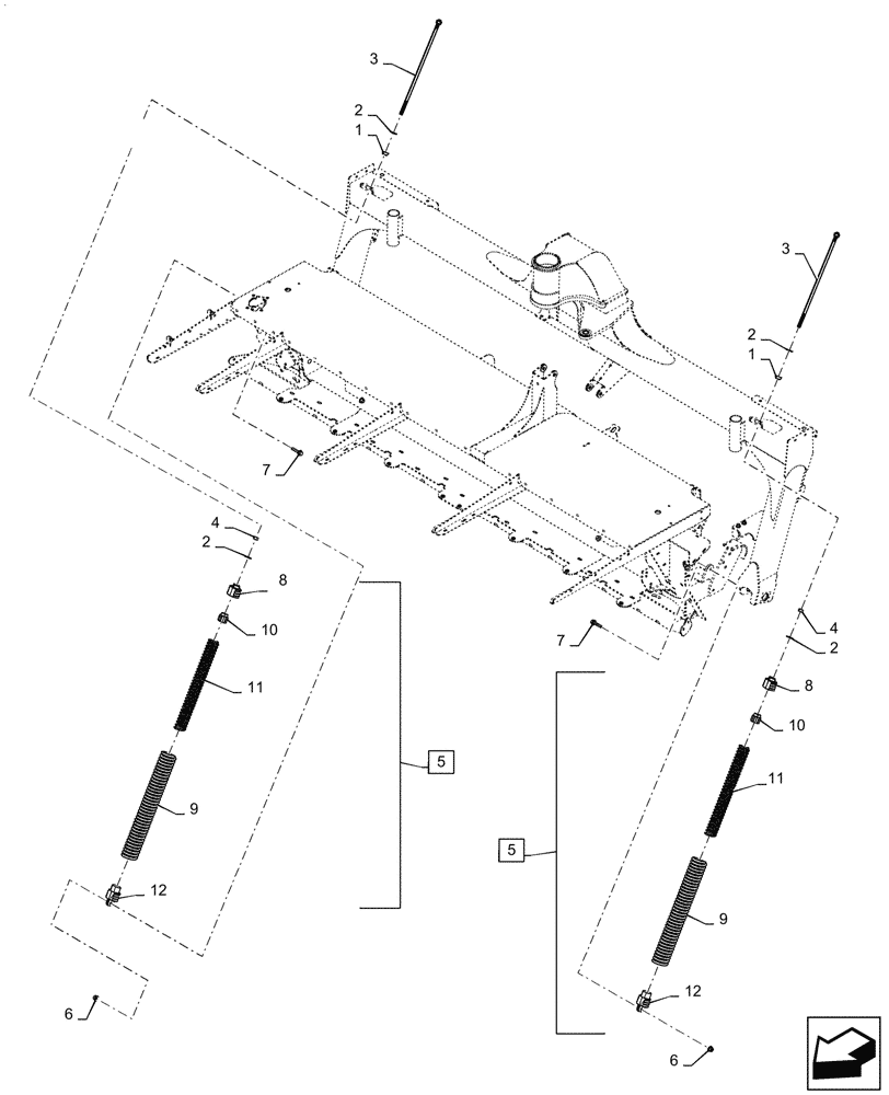
Запчасти Case IH DC163 (39.100.AB[05]) - HEADER, SPRING ASSY (39) - FRAMES AND BALLASTING

Схема запчастей Case IH DC163 - (39.100.AB[05]) - HEADER, SPRING ASSY (39) - FRAMES AND BALLASTING
4
2
2
4
5
10
2
7
9
11
7
12
1
8
3
11
5
9
1
10
3
2
6
6
12
8
FIT
1:1
100%

Артикул

Название

Примечание

Количество

1

84356804

BEARING ASSY

Spring Pivot

2шт.

2

130358

WASHER,16.28mm ID x 38.35mm OD x 4.11mm Thk

4шт.

3

86524072

THREADED ROD

2шт.

4

280374

NUT,Hex, 5/8" - 11, Gr 5

2шт.

5

86524022

SPRING

Assy, Incl 8 - 12

2шт.

6

86521611

FLANGE NUT,Flg, 5/8"-11

2шт.

7

86521622

BOLT,Hex, 5/8" - 11 x 2 1/2", Gr 5

2шт.

8

621922

SPRING NUT

1шт.

9

86511080

SPRING

1шт.

10

621920

SPRING NUT

1шт.

11

86511081

SPRING

1шт.

12

86516325

SPRING NUT

1шт.

Выбрано товаров: 12