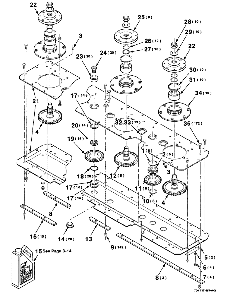
Запчасти Case IH DC515 (3-04) - CUTTER BAR ASSEMBLY, 700717697 CUTTER BAR ASSEMBLY COMPLETE (09) - CHASSIS

Схема запчастей Case IH DC515 - (3-04) - CUTTER BAR ASSEMBLY, 700717697 CUTTER BAR ASSEMBLY COMPLETE (09) - CHASSIS
21
17
5
26
7
30
17
35
4
10
1
9
29
28
16
24
4
15
32
12
31
33
13
23
3
19
11
17
6
34
27
14
3
2
8
8
25
22
18
20
22
FIT
1:1
100%

Артикул

Название

Примечание

Количество

700717697

CUTTER BAR

ASSEMBLY COMPLETE

4шт.

1

700718363

RING, SNAP

SNAP RING

6шт.

2

700718362

BALL BEARING,40mm ID x 90mm OD x 23mm W

BEARING

6шт.

3

700712395

PIN

- spring M10 x 12

2шт.

4

700713466

GEAR

- outboard

2шт.

5

700718800

REINFORCEMENT

- end

2шт.

6

700712393

COPPER WASHER

WASHER - copper

4шт.

7

700712394

PLUG

4шт.

8

700718345

REINFORCEMENT

- back

2шт.

9

7774664

NUT

M10 X 1.5 HN CLASS 10

142шт.

10

700712418

SHIM

40.3 X 1.0

6шт.

11

700718360

GEAR

6шт.

12

700713467

GEAR

- inboard

8шт.

13

700712396

REINFORCEMENT

- back

1шт.

14

700718347

NUT

20шт.

15

700149964

CONTAINER

BOTTLE ASSEMBLY

1шт.

16

700712421

BAFFLE

REINFORCEMENT - front

10шт.

17

700718349

SHIM

42шт.

18

700712415

RING, SNAP

RING - retaining

28шт.

19

700712420

GEAR

14шт.

20

700712419

THRUST BEARING,40mm ID x 80mm OD x 18mm W

BEARING

14шт.

21

700718356

COVER

CUTTERBED & COVER

1шт.

22

700718355

FLANGE

- outboard

2шт.

23

700718348

PIN

20шт.

24

700712417

BOLT,M20 x 30mm

M20 X 2.5 X 30 BOLT

20шт.

25

700718352

FLANGE

- inboard

8шт.

26

700713471

RING

- retaining

10шт.

27

700718350

SHIM

10шт.

28

700712408

LOCK NUT

LOCKNUT M24 X 3

10шт.

29

700712409

BELLEVILLE WASHER

WASHER - Belleville

10шт.

30

700712375

SNAP RING

RING - retaining

10шт.

31

700714310

BALL BEARING,34.976 mm ID x 72.043 mm OD x 33 mm

BEARING

10шт.

32

700715224

SCREW

M8 X 1.25 X 20 BOLT, Spcl

13шт.

33

829-1408

NUT,Hex, M8 x 1.25, Cl 10.9

13шт.

34

700718801

MOUNTING PARTS

MOUNTING

10шт.

35

700712401

SCREW

M10 X 1.5 X 30 SCREW

172шт.

Выбрано товаров: 36