Запчасти Case IH DC515 (7-26) - SHIELDS ASSEMBLY, RIGHT (09) - CHASSIS

Схема запчастей Case IH DC515 - (7-26) - SHIELDS ASSEMBLY, RIGHT (09) - CHASSIS
20
19
8
3
9
4
5
14
15
4
1
12
13
7
11
1
4
5
5
11
17
1
12
18
10
2
5
16
13
6
9
9
21
FIT
1:1
100%

Артикул

Название

Примечание

Количество

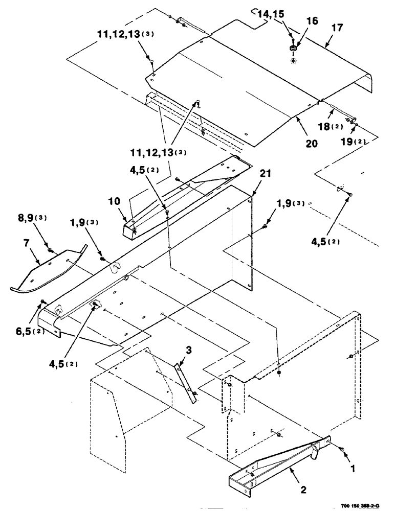
1

409-7612

BOLT,3/8"-16 x 1.09" OAL

3/8-16 X 3/4 HWHMS

7шт.

2

700149913

STRAP

WA - reinforcement

1шт.

3

700149934

STRAP

1шт.

4

121-115

SERRATED BOLT,Hex, 5/16" - 18 x 3/4"

6шт.

5

231-5145

SERRATED NUT,Flg, USR, 5/16"-18

NUT, Flg, USR, 5/16"-18

8шт.

6

121-108

BOLT,Hex Flg, 5/16"-18 x 1 1/4", Serr

5/16-18 X 1 HWHMS

2шт.

7

700130220

ROD

WA

1шт.

8

121-226

SERRATED BOLT,Hex, 3/8" - 16 x 1"

3шт.

9

231-5146

FLANGE NUT,3/8"-16

9шт.

10

700150467

PANEL

- right

1шт.

11

434-512

CARRIAGE BOLT,Sht Sq Nk, 5/16" - 18 x 3/4", Gr 5

BOLT, CARRIAGE, Short NK, 5/16"-18 x 3/4", G5, Full Thd

6шт.

12

496-21034

WASHER,11/32" x 11/16" x 0.89", HDN

6шт.

13

425-105

NUT,5/16"-18, G5

6шт.

14

700707203

CAPTIVE WASHER SCREW

#12-24 X 3/4 HWHMS

1шт.

15

1954816C1

LOCK NUT

#12-24 LOCKNUT - special

1шт.

16

700708648

BUMPER

- rubber

1шт.

17

700150480

PANEL

- shield, right

1шт.

18

700149957

ARM

WA - pivot

2шт.

19

6124259

BUSHING

SPACER

2шт.

20

700150472

PANEL

- right, top

1шт.

21

700149917

PANEL

WA - right

1шт.

Выбрано товаров: 21