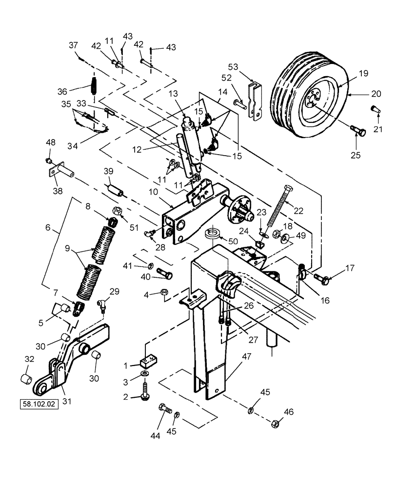
Запчасти Case IH DCX101 (39.100.01[01]) - TRAIL FRAME, RIGHT SIDE (39) - FRAMES AND BALLASTING

Схема запчастей Case IH DCX101 - (39.100.01[01]) - TRAIL FRAME, RIGHT SIDE (39) - FRAMES AND BALLASTING
15
40
24
25
2
19
20
34
8
1
18
17
26
41
12
50
38
51
29
4
5
39
32
42
58.102.02
11
11
35
46
45
53
43
13
11
28
22
44
45
3
43
30
10
33
6
27
36
14
23
7
30
21
48
15
9
42
16
37
47
52
49
31
FIT
1:1
100%

Артикул

Название

Примечание

Количество

1

86519305

BUMPER

1шт.

2

86521617

BOLT,Hex, 1/2" - 13 x 2", Gr 5

2шт.

3

495-11053

WASHER,1/2", SAE

2шт.

4

231-5348

FLANGE NUT,Flg, 1/2"-13

2шт.

5

648327

HUB

1шт.

6

9840708

SPRING

RH, Includes: Ref. 7 - 9

1шт.

7

9840709

SPRING NUT

1шт.

8

247383

SPRING NUT

1шт.

9

226527

SPRING

Extension

1шт.

10

0C

ORDER COMPONENTS

Spindle, RH, Refer to Fig. 44.100.01

1шт.

11

495-11066

WASHER,5/8", SAE

5шт.

12

86632240

ROD

1шт.

13

86632811

DAMPER

Refer to Fig. 35.100.01(01)

1шт.

Prior to PIN HCA0006156 (steel rolls) & HCA0006052 (rubber rolls)

1шт.

13

87018066

CYLINDER ASSY.,Double Acting, 38.1mm Rod, 203.2mm Stroke

Hydraulic, Monarch, Refer to Fig. 35.100.01(02)

1шт.

From PIN HCA0006156 (steel rolls) & HCA0006052 (rubber rolls)

1шт.

14

218-5105

ELBOW,90 Degree Elbow, 9/16" - 18 Male JIC x 9/16" - 18 Male ORB

Includes: Ref. 15

2шт.

15

237-6006

O-RING,0.078" Thk x 0.468" ID, -906, Cl 6, 90 Duro

2шт.

16

578070

CLAMP,19mm, Coat, 8.7mm Bolt Hole, P Type

1шт.

17

458-512

BOLT,Hex, 5/16" - 18 x 3/4", Gr 5

1шт.

18

425-285

FLANGE NUT,Flg, 5/16"-18, G5

1шт.

19

86621298

WHEEL

1шт.

20

PL

PROCURE LOCALLY

Tire, Rib Implement, 6 Ply, Tubeless, 11L x 15

1шт.

21

387897R91

VALVE STEM

1шт.

22

257460

BOLT,Hex, 5/8" - 11 x 17.12", Full Thd

1шт.

23

130358

WASHER,16.28mm ID x 38.35mm OD x 4.11mm Thk

Hardened, 5/8"

1шт.

24

694420

PIVOT

Spring

1шт.

25

32383

BOLT,Wheel, G5, 1/2"-20 x 13/16"

Wheel, G5, 1/2"-20 x 13/16"

6шт.

26

86515766

FLEXIBLE HOSE,0.38" ID x 91.00", SAE 100R1

1шт.

27

86515767

HYDRAULIC HOSE,0.38" ID x 166.00", SAE 100R1

1шт.

28

219-90

LUBE NIPPLE,45 Degree Elbow, 1/4" -28 NPTF

1шт.

29

219-93

LUBE NIPPLE,90 Degree Elbow, 1/4" - 28 NPTF

1шт.

30

9611935

BUSHING,31.83mm ID x 39.115mm OD x 26.92mm L

2шт.

31

86607956

LIFT ARM

Includes: Ref. 30

1шт.

32

86603645

SPACER

1шт.

33

86546360

PIN

1шт.

34

86631667

ROD

1шт.

34

87618910

LATCH

, Start Serial: Y7B651575

1шт.

35

432-812

COTTER PIN,3/4" OAL x 1/8" W

3шт.

36

86539129

SPRING

1шт.

37

432-1232

COTTER PIN,3/16" OD x 2" L

1шт.

38

86632239

PIN,31.75mm OD x 125.5mm L

Rifle Drilled, Use With Ref. 48

1шт.

39

86632243

SPACER

120.0 / 120.5 mm L

1шт.

40

426-1240

BOLT,Hex, 3/4" - 10 x 2-1/2", Gr 8

1шт.

41

86516694

WASHER

1шт.

42

86529064

PIN

2шт.

43

432-1624

COTTER PIN,1/4" x 1 1/2"

3шт.

44

413-16104

BOLT,Hex, 1" - 8 x 6-1/2", Gr 5

1шт.

44

426-16128

BOLT,Hex, 1" - 8 x 8", Gr 8

1шт.

45

25769

WASHER,25.8mm ID x 49.21mm OD x 3.17mm Thk

2шт.

46

231-41416

NUT,1"-8, GB

1шт.

46

425-1016

NUT,1"-8, G5

1шт.

47

87651263

FRAME

Trail

1шт.

47

86606609

FRAME

Trail, Start Serial: Y7B651575

1шт.

48

219-87

LUBE NIPPLE,1/4" - 28 NPTF

1шт.

49

492-11031

LOCK WASHER,5/16"

1шт.

50

617215

MOLDING

Cut To Fit

1шт.

51

425-1010

NUT,5/8"-11, G5

1шт.

52

87618699

STOP

, Start Serial: Y7B651575

1шт.

53

87061043

PIN

, Start Serial: Y7B651575

1шт.

Выбрано товаров: 60