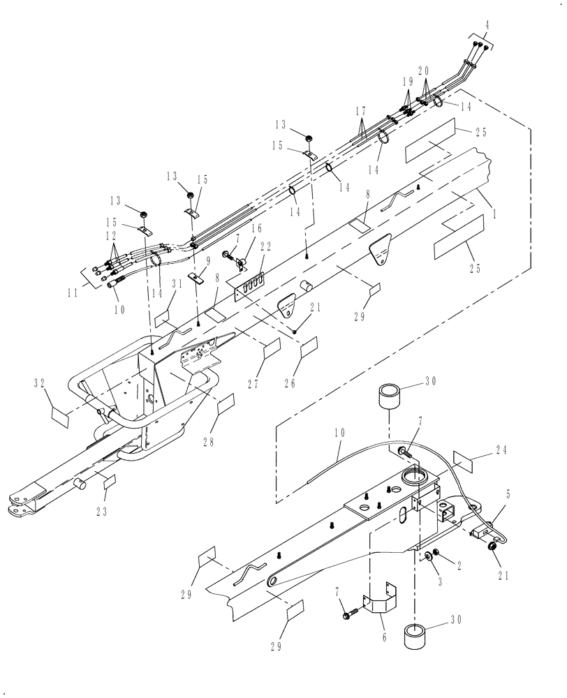
Запчасти Case IH DCX131 (07.01/01) - TONGUE HYDRAULICS & WIRE HARNESS (06) - ELECTRICAL

Схема запчастей Case IH DCX131 - (07.01/01) - TONGUE HYDRAULICS & WIRE HARNESS (06) - ELECTRICAL
6
5
4
10
14
25
30
9
30
14
15
22
27
29
21
10
14
12
11
21
32
19
17
13
31
14
3
26
16
7
15
8
1
7
29
15
13
24
25
28
8
2
20
29
23
13
14
7
FIT
1:1
100%

Артикул

Название

Примечание

Количество

1

86572845

TONGUE

Standard, Includes: Ref. 22 -24 & 26 Thru 30

1шт.

Replaces 86640709

1шт.

2

7770

NUT,Hex, 1/4 - 20, Cl 5

, Years: -01-SEP-11

4шт.

3

322357

BELLEVILLE WASHER,M6 Bolt Size x 14mm OD x 1.3mm Thk

, Years: -01-SEP-11

4шт.

4

86511868

PLUG,3/4" - 16 JIC

3шт.

5

86561136

MODULE

Lighting Control, Years: -01-SEP-11

1шт.

5

87537164

WIRE HARNESS

Jumper, Lighting Control, Start Year: 01-SEP-11

1шт.

6

86567415

COVER

, Years: -01-SEP-11

1шт.

7

86521550

BOLT,Hex, 1/4" - 20 x 3/4", Gr 5

8шт.

8

853891

TAPE

Foam, Black Vinyl

1шт.

9

765394

PAD,19.8mm ID x 31.8mm W x 101.6mm L

8шт.

10

86560194

WIRE HARNESS

Lights

1шт.

11

116070

CAP

Oil Drain

3шт.

12

86539888

HOSE,9.53mm ID x 2489.2mm L

3шт.

13

86521609

FLANGE NUT,Flg, 3/8"-16

9шт.

14

263117

CABLE TIE,292.1mm L, Nylon, Black

CABLE STRAP

1шт.

15

86571694

CLAMP

9шт.

16

9611467

HOLDER

1шт.

17

86538795

HYD TUBE,12.70 mm OD x 2805 mm L

Includes: Ref. 18

3шт.

18

235671

SLEEVE,37 Degree, 1/2" Tube

Not Shown

12шт.

18

129428

TUBE NUT,37 Degree, 3/4"-16, Type B

Not Shown

12шт.

19

128822

UNION,3/4" - 16 JIC x 3/4" - 16 JIC

3шт.

20

86538796

HYD TUBE,12.70 mm OD x 1855, 46.1 mm L

Includes Ref. 18

3шт.

21

9626558

FLANGE NUT,Flg, 1/4"-20

4шт.

22

86564683

SUPPORT

Hoses (Requires Welding)

1шт.

23

86536919

DECAL

ATTENTION

1шт.

24

770033

WARNING DECAL

1шт.

25

86626404

DECAL

RH, DCX131

1шт.

25

86626403

DECAL

LH, DCX131

1шт.

26

86624775

WARNING DECAL

Set Machine To Clear Obstructions, English

1шт.

26

86625172

WARNING DECAL

WARNING, Set Machine To Clear Obstructions, French

1шт.

26

86625173

WARNING DECAL

WARNING, Set Machine To Clear Obstructions, Spanish

1шт.

27

86622073

WARNING DECAL

English

1шт.

28

86536635

DECAL

ATTENTION

1шт.

29

86547782

REFLECTOR,YELLOW

Yellow, Retroreflective

4шт.

30

86515632

DRIVE BUSHING,102.13mm ID x 114.25mm OD x 76.2mm L

2шт.

31

86539556

DECAL

ATTENTION

1шт.

32

86539555

DECAL

ATTENTION

1шт.

Выбрано товаров: 38