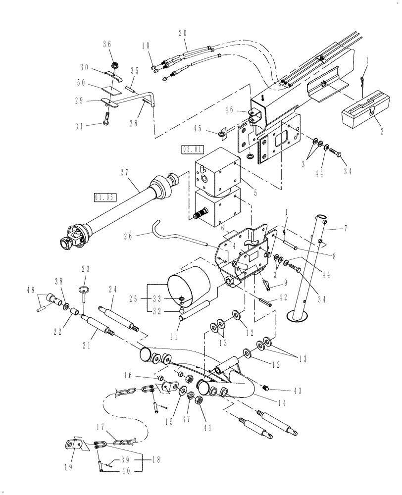
Запчасти Case IH DCX131F (12.06) - 2 POINT SWIVEL HITCH (12) - MAIN FRAME

Схема запчастей Case IH DCX131F - (12.06) - 2 POINT SWIVEL HITCH (12) - MAIN FRAME
9
34
31
44
46
43
8
34
30
03.01
01.05
26
48
37
14
3
2
21
11
7
1
23
4
36
17
50
1
13
5
33
39
38
45
3
28
19
15
10
35
18
44
27
40
41
6
20
12
16
13
12
42
25
24
32
22
29
FIT
1:1
100%

Артикул

Название

Примечание

Количество

1

86627125

COTTER PIN,0.148" OD x 2.75" OAL, Internal

Hairpin, 5/32" x 2-3/4"

2шт.

2

5135060

TOOL BOX

1шт.

3

574245

WASHER,16.76mm ID x 50.8mm OD x 6.35mm Thk

32шт.

4

86536919

DECAL

Attention, Store Jack In Middle Of Tongue, English

1шт.

4

86536920

DECAL

Attention, Store Jack In Middle Of Tongue, French

1шт.

5

86592258

GEARBOX

Swivel

1шт.

5

86592258R

REMAN-GEARBOX

Reman Gearbox

1шт.

5

86592258C

CORE-GEARBOX

Return Number

1шт.

6

86617330

TRUNNION

Includes: Ref. 4 & 47

1шт.

7

86629922

STAND

1шт.

8

29851

PIN,15.87mm OD x 128.8mm L

2шт.

9

647695

PIN,7.94mm OD

1шт.

10

116070

CAP

3шт.

11

86519423

PIN

1шт.

12

233295

WASHER

2шт.

13

28691

WASHER,39mm ID x 60mm OD x 0.89mm Thk

1шт.

14

86629939

FRAME, HITCH

1шт.

Includes decals.

1шт.

15

9801099

WASHER

2шт.

16

612121

SPACER

4шт.

17

9826529

CHAIN,799mm L

2шт.

18

573120

SHACKLE

4шт.

19

86573217

CONNECTING LINK

4шт.

20

86549016

HOSE,9.65 mm ID x 1727.2 mm

3шт.

21

86578389

PIN

L = 12.46"

2шт.

22

81846686

BUSHING,28.7mm ID x 36.7mm OD x 44.7mm L

See Ref 48

2шт.

23

132757

LINCH PIN,11.11mm OD x 44.45mm L

See Ref 48

2шт.

24

86578390

PIN

L = 15.25"

2шт.

25

86549399

SHIELD

1шт.

26

86629924

SUPPORT

1шт.

27

0C

ORDER COMPONENTS

PTO

1шт.

28

432-1220

COTTER PIN,3/16" x 1 1/4"

1шт.

29

86595948

SUPPORT

W/ Black Vinyl Foam Tape

1шт.

30

86571694

CLAMP

1шт.

31

413-640

BOLT,Hex, 3/8" - 16 x 2-1/2", Gr 5

1шт.

32

86520136

RIVET,Aluminum, .196” Dia

3шт.

33

88055

WASHER,0.22" ID x 0.5" OD x 0.05" Thk

Brass, #10

3шт.

34

86604182

LOCK BOLT,Spcl, Gr 5

Cap, HH, Special, G5, 5/8"-11 x 1-3/4"

16шт.

35

435-1620

GROOVED PIN,3/16" x 1 1/4", Type A

1шт.

36

231-5346

FLANGE NUT,Flg, 3/8"-16

1шт.

37

492-11100

LOCK WASHER,1"

2шт.

38

790435

WASHER

2шт.

39

432-816

COTTER PIN,1/8" x 1"

4шт.

40

64162

CLEVIS PIN,12.6mm OD x 54.76mm L

4шт.

41

425-1016

NUT,1"-8, G5

4шт.

42

38-12040

LOCK PIN,5/16" x 2 1/2", Slotted

1шт.

43

219-87

LUBE NIPPLE,1/4" - 28 NPTF

1шт.

44

86589278

BELLEVILLE WASHER,17mm ID x 41.5mm OD x 4.5mm Thk

16шт.

45

9706679

WASHER,0.8" ID x 1.25" OD x 0.14" Thk

2шт.

46

86585606

CLEVIS

Support (Welding Required)

1шт.

47

165109

DECAL

Lube Fitting (Not Shown)

1шт.

48

87298929

KIT

Kit, Adapter, Includes: (2) Bushings & (2) Pins - Use in Place of Ref. 22 & 23 with Quick Hitch

1шт.

50

853891

TAPE

Foam Tape, Serial Range: Cut-fit

1шт.

Выбрано товаров: 53