Запчасти Case IH DCX161 (12.06) - LATCH (12) - MAIN FRAME

Схема запчастей Case IH DCX161 - (12.06) - LATCH (12) - MAIN FRAME
1
3
4
8
7
11
10
2
2
12
6
5
9
FIT
1:1
100%

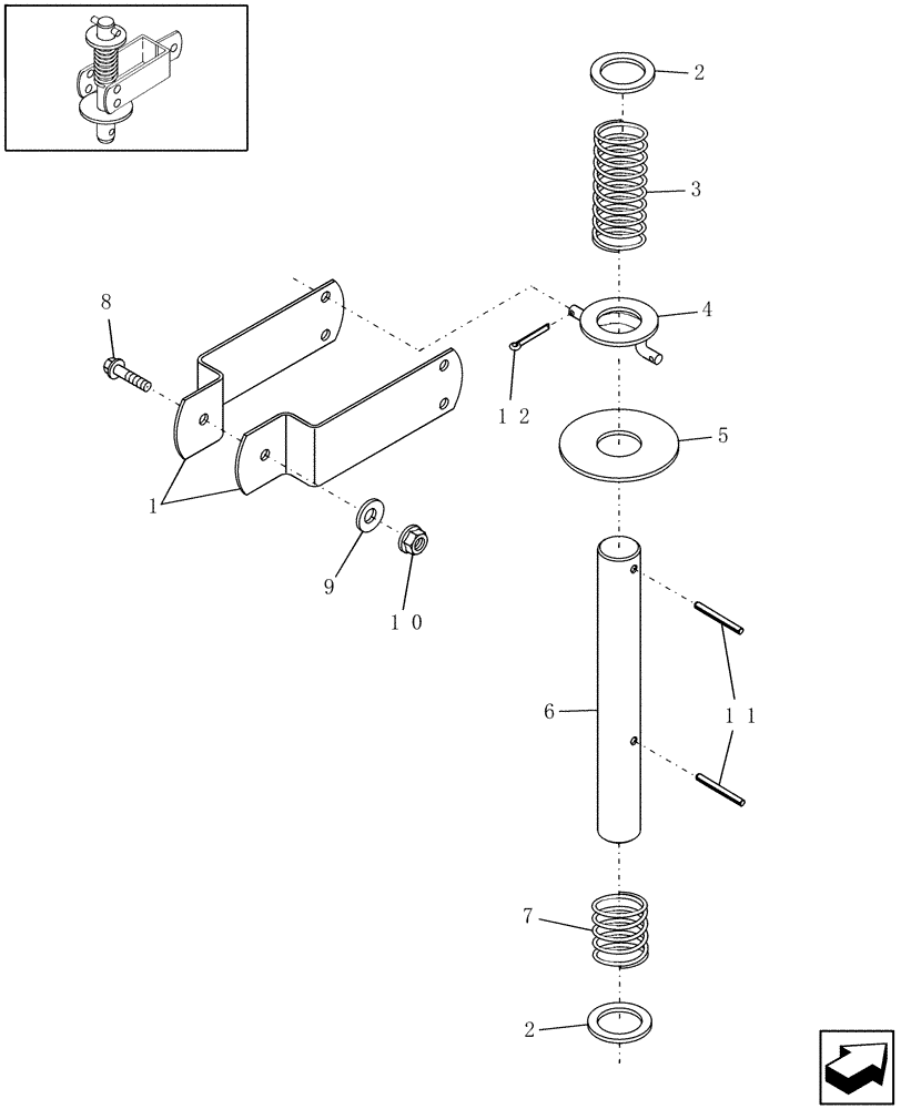
Артикул

Название

Примечание

Количество

1

690605

HANDLE

2шт.

2

142656

WASHER,33.35mm ID x 47.63mm OD x 3.43mm Thk

2шт.

3

35324

SPRING

1шт.

4

86618985

ROD

1шт.

5

696508

WASHER,33.3mm ID x 88.9mm OD x 3.43mm Thk

1шт.

6

86629641

PIN,31.75mm OD x 260mm L

1шт.

7

48176

SPRING

1шт.

8

86521551

BOLT,Hex, 5/16" - 18 x 1/2", Gr 5

1шт.

9

492-11031

LOCK WASHER,5/16"

1шт.

10

425-285

FLANGE NUT,Flg, 5/16"-18, G5

1шт.

11

38-11628

LOCK PIN,1/4" x 1 3/4", Slotted

2шт.

12

432-88

COTTER PIN,1/8" x 1/2"

2шт.

Выбрано товаров: 12