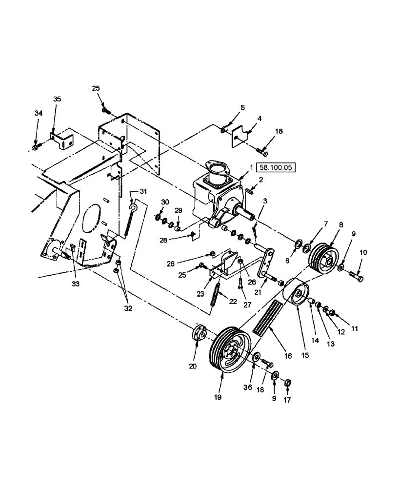
Запчасти Case IH RD162 (58.100.04) - BELT DRIVE (58) - ATTACHMENTS/HEADERS

Схема запчастей Case IH RD162 - (58.100.04) - BELT DRIVE (58) - ATTACHMENTS/HEADERS
25
30
7
12
8
22
58.100.05
13
18
32
18
29
2
28
36
20
35
11
9
3
4
14
34
6
9
5
26
21
26
16
10
25
33
31
23
27
19
1
15
17
FIT
1:1
100%

Артикул

Название

Примечание

Количество

1

87582682

GEARBOX

1шт.

1

87582682R

REMAN-GEARBOX

Remanufactured GEARBOX

1шт.

1

87582682C

CORE-GEARBOX

Return Number, Gearbox, RD162

1шт.

2

87485

KEY,50.8mm OAL x 7.96mmThk

.31" Sq x 2"

1шт.

3

87398

COTTER PIN,3/16" OD x 1-1/4" OAL

1шт.

4

86558629

COVER

1шт.

5

86539811

SPRING NUT

Speed, 3/8"-16

1шт.

6

614717

WASHER

1-17/32" ID x 2" OD x 1/16" Thk

1шт.

7

28581

WASHER,38.9mm ID x 60.3mm OD x 3.5mm Thk

1-17/32" ID x 2-3/8" OD, 10 Ga.

2шт.

8

87526445

SHEAVE

9" OD

1шт.

9

86516694

WASHER

3/4" ID x 1/4" Thk

1шт.

10

88725

BOLT,Hex, 3/4" - 10 x 1 3/4", Gr 5, Full Thd

1шт.

11

280375

NUT,3/4"-10, GC

1шт.

12

87021862

WASHER,19.8mm ID x 38.1mm OD x 4.76mm Thk

Hardened, M20, Plated

1шт.

13

87029275

BEARING,19mm ID x 45.2mm OD x 15.5mm W

2шт.

14

217994

SPACER

3/4" ID x 1"x 1-1/4" L

1шт.

15

86632727

IDLER

6" OD

1шт.

16

86582818

V-BELT,0.66" W x 101.00" L, 4 Ribs

1шт.

17

280954

NUT,3/4"-10, G5

1шт.

18

280523

BOLT,Hex, 3/8" - 16 x 1 1/4", Gr 5

7шт.

19

86633564

PULLEY

247.7mm OD

1шт.

20

86540073

HUB

1шт.

21

86633561

ARM

1шт.

22

12

SPRING

7/8" OD x 7-1/4" L

1шт.

23

86633565

ARM

1шт.

25

86521614

BOLT,Hex, 1/2" - 13 x 1 1/4", Gr 5

7шт.

26

280431

NUT,1/2"-13, G5

1шт.

27

88965

BOLT,Hex, 1/2"-13 x 4", G5, Full Thd

1шт.

28

87415

LUBE NIPPLE,90 Degree, 1/4" NPT x 3/4" L, Drive

1шт.

29

80027767

BUSHING,25.48mm ID x 28.65mm OD x 22.22mm L

1" ID x 7/8" L

2шт.

30

26402

WASHER,25.8mm ID x 38.1mm OD x 1.7mm Thk

14шт.

31

86628567

EYEBOLT

G2, 3/8"-16 x 8-3/4"

1шт.

32

9628503

NUT,3/8"-16, G5

2шт.

33

86626994

KEY

Square, 5/16" x 1"

1шт.

34

86521615

BOLT,Hex, 1/2" - 13 x 1 1/2", Gr 5

1шт.

35

87541439

ANGLE

1шт.

36

140045

BELLEVILLE WASHER,M10 Bolt Size x 22mm OD x 1.6mm Thk

6шт.

Выбрано товаров: 37