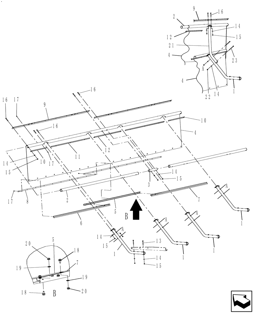
Запчасти Case IH RD162 (60.620.04) - FLEXIBLE PUSHBAR OPTION - GRASS SEED (60) - PRODUCT FEEDING

Схема запчастей Case IH RD162 - (60.620.04) - FLEXIBLE PUSHBAR OPTION - GRASS SEED (60) - PRODUCT FEEDING
1
22
21
16
14
17
2
9
a
14
14
4
10
14
a
19
1
18
b
1
2
a
5
12
15
20
13
7
6
14
8
16
16
1
12
16
1
4
15
14
15
17
4
3
9
11
a
20
a
23
b
18
10
15
7
19
15
5
17
FIT
1:1
100%

Артикул

Название

Примечание

Количество

1

87482076

PIPE

Base Support

4шт.

2

84132321

PIPE

4шт.

3

84132324

PIPE

2шт.

4

84198467

CURTAIN

Upper & Lower

2шт.

5

84132314

CHANNEL

2шт.

6

84132315

CHANNEL

2шт.

7

84132325

CHANNEL

2шт.

8

84132316

BAR

4шт.

9

84132317

BRACKET, SUPPORTING

4шт.

10

84132318

BRACKET, SUPPORTING

4шт.

11

84132319

BRACKET, SUPPORTING

4шт.

12

84132320

BRACKET, SUPPORTING

2шт.

13

280688

CARRIAGE BOLT

8шт.

14

140045

BELLEVILLE WASHER,M10 Bolt Size x 22mm OD x 1.6mm Thk

40шт.

15

86521606

FLANGE NUT,Hex, 3/8" - 16, Gr 5

32шт.

16

88444

BOLT,Hex, 3/8" - 16 x 2 3/4", Gr 5

24шт.

17

86500940

SELF-TAP SCREW,Hex Wash Hd, #10 x 3/4"

86шт.

18

86521551

BOLT,Hex, 5/16" - 18 x 1/2", Gr 5

16шт.

19

322358

BELLEVILLE WASHER,M8 Bolt Size x 18mm OD x 1.4mm Thk

16шт.

20

86521605

FLANGE NUT,5/16"-18, Cl 5

16шт.

21

84132302

PIPE

Upper Extension Support

4шт.

22

86521609

FLANGE NUT,Flg, 3/8"-16

Upper Extension Support

8шт.

23

86505980

BOLT,Hex, 3/8" - 16 x 4 1/2", Gr 5

Upper Extension Support

8шт.

Выбрано товаров: 23