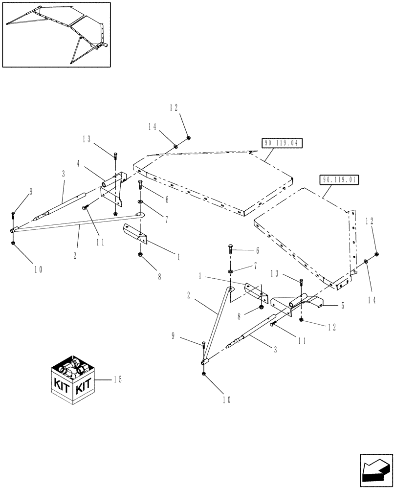
Запчасти Case IH RD162 (60.620.06) - DIA., CROP DIVIDER KIT (60) - PRODUCT FEEDING

Схема запчастей Case IH RD162 - (60.620.06) - DIA., CROP DIVIDER KIT (60) - PRODUCT FEEDING
7
10
12
13
90.119.04
90.119.01
14
2
1
14
6
10
11
8
12
5
7
13
2
9
3
6
8
4
11
15
9
3
1
12
FIT
1:1
100%

Артикул

Название

Примечание

Количество

1

86583520

BRACKET

2шт.

2

86632781

BAR

2шт.

3

86632783

DEFLECTOR

2шт.

4

86583521

BRACKET

RH

1шт.

5

86583519

BRACKET

LH

1шт.

6

87689

BOLT,1/2"-13 x 1.813" OAL, Gr 5

2шт.

7

80700

WASHER,0.56" ID x 1.38" OD x 0.11" Thk

2шт.

8

88871

NUT,1/2"-13, GC

2шт.

9

87657

BOLT,Hex, 5/16" - 18 x 1 1/4", Gr 5

2шт.

10

280736

NUT,5/16"-18, GC

2шт.

11

280428

CARRIAGE BOLT,Short Nk, 5/16" - 18 x 1", Gr 5

10шт.

12

9823743

FLANGE NUT,Flg, 5/16"-18

12шт.

13

88275

BOLT,Hex, 5/16" - 18 x 1 1/2", Gr 5

2шт.

14

80577826

WASHER,8.7mm ID x 34.93mm OD x 1.94mm Thk

5/16", SAE

10шт.

15

717002026

DIA KIT, HARVESTER

Divider Kit, Includes Ref.s 1 thru 14

1шт.

Выбрано товаров: 15