Запчасти Case IH RD162 (90.119.19) - DIA., 60 IN. CLOSURE KIT - GRASS SEED (90) - PLATFORM, CAB, BODYWORK AND DECALS

Схема запчастей Case IH RD162 - (90.119.19) - DIA., 60 IN. CLOSURE KIT - GRASS SEED (90) - PLATFORM, CAB, BODYWORK AND DECALS
13
15
16
12
10
16
14
4
7
11
3
5
6
9
1
8
2
FIT
1:1
100%

Артикул

Название

Примечание

Количество

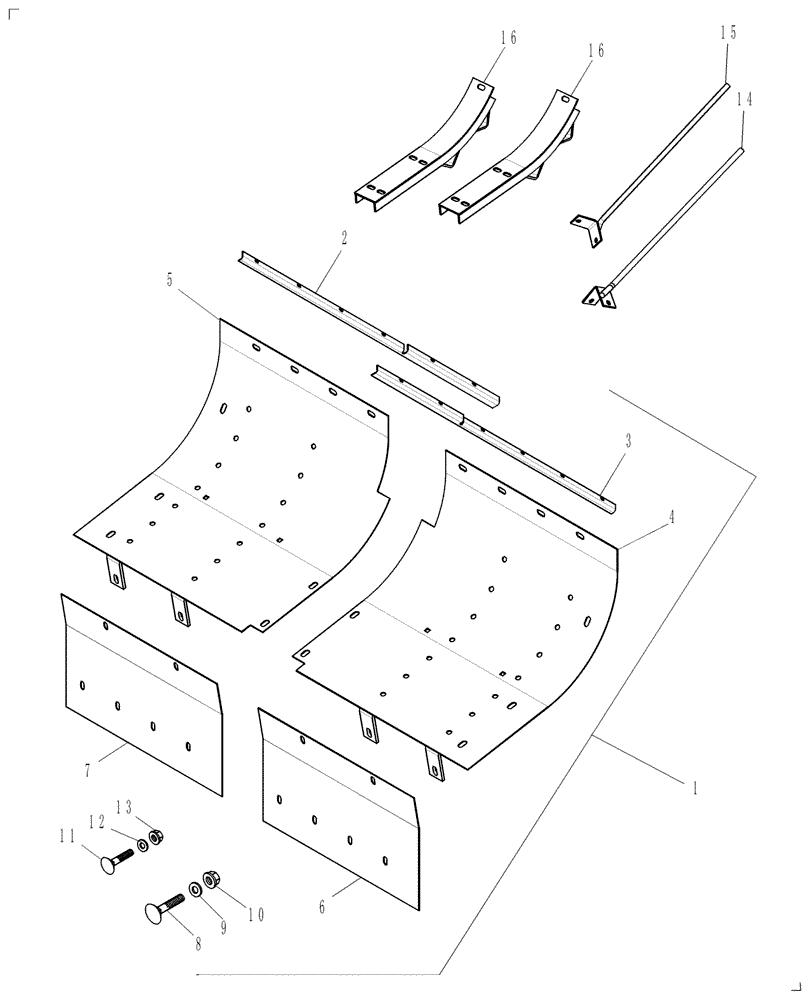
1

717701006

DIA KIT, HARVESTER

60" Closure, Includes Ref. 2 thru 16

1шт.

2

87755272

STRIPPER

RH

1шт.

3

87755271

STRIPPER

LH

1шт.

4

87730265

FLOOR

LH

1шт.

5

87730298

EXTENSION

RH

1шт.

6

87730299

FLOOR

LH

1шт.

7

87730300

FLOOR

RH

1шт.

8

80280503

CARRIAGE BOLT,Sht Sq Nk, 3/8" - 16 x 1", Gr 5, Full Thd

18шт.

9

140045

BELLEVILLE WASHER,M10 Bolt Size x 22mm OD x 1.6mm Thk

18шт.

10

86521606

FLANGE NUT,Hex, 3/8" - 16, Gr 5

18шт.

11

88992

CARRIAGE BOLT,Short Sq Nk, 5/16" - 18 x 1", Gr 5

12шт.

12

322358

BELLEVILLE WASHER,M8 Bolt Size x 18mm OD x 1.4mm Thk

12шт.

13

86521605

FLANGE NUT,5/16"-18, Cl 5

12шт.

14

87012926

ROD

Upper, LH

1шт.

15

87012927

ROD

Upper, RH

1шт.

16

87730206

BRACKET

2шт.

Выбрано товаров: 16