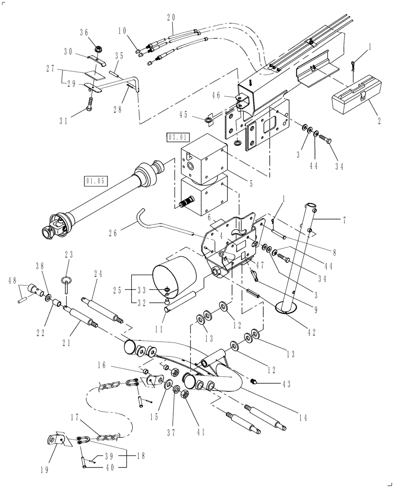
Запчасти Case IH DC132F (12.09) - 2 POINT SWIVEL HITCH (12) - MAIN FRAME

Схема запчастей Case IH DC132F - (12.09) - 2 POINT SWIVEL HITCH (12) - MAIN FRAME
44
23
48
19
22
30
44
17
8
21
32
39
25
2
34
12
15
35
1
41
24
11
47
43
3
9
40
31
13
5
46
29
03.01
01.05
18
38
4
26
28
6
33
13
10
37
20
34
16
7
12
27
45
1
42
14
36
3
FIT
1:1
100%

Артикул

Название

Примечание

Количество

1

86627125

COTTER PIN,0.148" OD x 2.75" OAL, Internal

Hair

2шт.

2

5135060

TOOL BOX

1шт.

3

574245

WASHER,16.76mm ID x 50.8mm OD x 6.35mm Thk

Hardened, Special, M16

32шт.

4

86536919

DECAL

Attention, Store Jack In Middle Of Tongue, English

1шт.

4

86536920

DECAL

Attention, Store Jack In Middle Of Tongue, French

1шт.

4

86536921

DECAL

Attention, Store Jack In Middle Of Tongue, Spanish

1шт.

5

86592258

GEARBOX

Swivel

1шт.

5

86592258R

REMAN-GEARBOX

Reman Gearbox

1шт.

5

86592258C

CORE-GEARBOX

Return Number

1шт.

6

86587221

TRUNNION

Includes: Ref. 4 & 47

1шт.

7

86629921

SUPPORT

1шт.

8

29851

PIN,15.87mm OD x 128.8mm L

Clevis, 5/8" x 4-9/16", Yoke

2шт.

9

647695

PIN,7.94mm OD

Snap

1шт.

10

116070

CAP

Oil, Drain

3шт.

11

86519423

PIN

1шт.

12

233295

WASHER

2шт.

13

28691

WASHER,39mm ID x 60mm OD x 0.89mm Thk

4 A/Rшт.

14

86629939

FRAME, HITCH

Hitch

1шт.

15

9801099

WASHER

Hardened

2шт.

16

612121

SPACER

4шт.

17

9826529

CHAIN,799mm L

2шт.

18

573120

SHACKLE

Chain, Shackle, Includes: Ref. 39 & 40

4шт.

19

86573217

CONNECTING LINK

4шт.

20

86549016

HOSE,9.65 mm ID x 1727.2 mm

3шт.

21

86578389

PIN

L = 12.46"

2шт.

22

81846686

BUSHING,28.7mm ID x 36.7mm OD x 44.7mm L

See Ref 48

2шт.

23

132757

LINCH PIN,11.11mm OD x 44.45mm L

See Ref 48

2шт.

24

86578390

PIN

L = 15.25"

2шт.

Required with Cat. 3 hitches only. Requires 81846686 Bushing, (2) 612121 Spacer and (2) 9849663 Screw.

1шт.

25

86549399

SHIELD

Includes: Ref. 32 & 33

1шт.

26

86629924

SUPPORT

1шт.

27

853891

TAPE

Tape, Black Vinyl Foam -, Serial Range: Cut-Fit

1шт.

28

87398

COTTER PIN,3/16" OD x 1-1/4" OAL

1шт.

29

87029372

SUPPORT ASSY.

1шт.

30

86571694

CLAMP

1шт.

31

87936

BOLT,Hex, 3/8" - 16 x 2 1/2", Gr 5

1шт.

32

86520136

RIVET,Aluminum, .196” Dia

3шт.

33

88055

WASHER,0.22" ID x 0.5" OD x 0.05" Thk

Copper, #10

3шт.

34

86604182

LOCK BOLT,Spcl, Gr 5

Cap, HH, Special, G5, 5/8"-11 x 1-3/4"

16шт.

35

80777

GROOVED PIN,3/16" x 1 1/4", Type A

1шт.

36

86521609

FLANGE NUT,Flg, 3/8"-16

1шт.

37

87342

LOCK WASHER,25.48mm ID x 42.06mm OD x 6.35mm Thk

2шт.

38

790435

WASHER

2шт.

39

80755

COTTER PIN,1/8" OD x 1" L

4шт.

40

64162

CLEVIS PIN,12.6mm OD x 54.76mm L

1/2" x 2"

4шт.

41

9849633

NUT,1"-8, G5

4шт.

42

87948

LOCK PIN,7.94mm OD x 63.5mm L, Slotted

1шт.

43

87414

LUBE NIPPLE,1/4" - 28

1шт.

44

86589278

BELLEVILLE WASHER,17mm ID x 41.5mm OD x 4.5mm Thk

16шт.

45

9706679

WASHER,0.8" ID x 1.25" OD x 0.14" Thk

2шт.

46

86585606

CLEVIS

(Welding Required)

1шт.

47

165109

DECAL

Lube Fitting

1шт.

48

87298929

KIT

Bushing Adapter, Includes: (2) Bushings & (2) Pins - Use in Place of Ref. 22 & 23 with Quick Hitch

1шт.

Выбрано товаров: 0