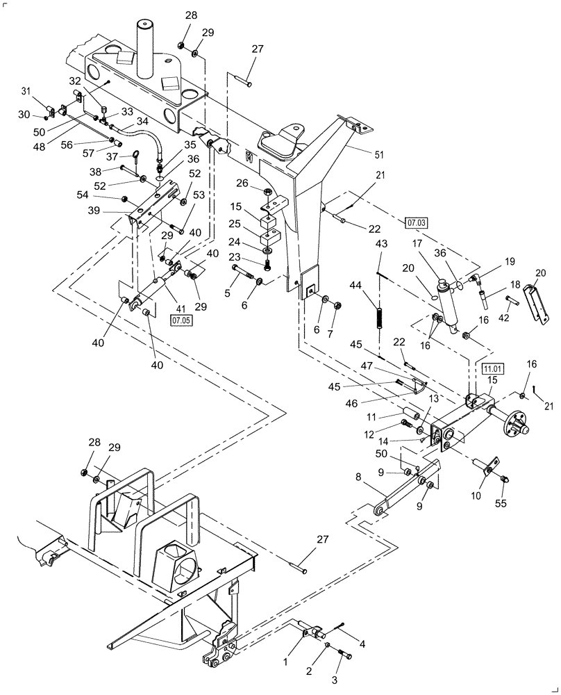
Запчасти Case IH DC132F (12.11) - TRAILFRAME, LH (12) - MAIN FRAME

Схема запчастей Case IH DC132F - (12.11) - TRAILFRAME, LH (12) - MAIN FRAME
50
56
36
37
35
47
9
53
1
28
40
45
22
39
51
25
16
15
6
18
07.05
11.01
07.03
41
10
5
20
11
38
33
57
20
43
46
8
19
42
17
3
30
22
6
14
2
16
29
52
31
26
27
54
44
50
21
40
24
21
29
13
16
12
29
9
29
4
52
45
40
55
34
23
28
40
36
48
27
32
15
7
FIT
1:1
100%

Артикул

Название

Примечание

Количество

1

86522799

PIN

1шт.

2

167381

SPACER

1шт.

3

86521614

BOLT,Hex, 1/2" - 13 x 1 1/4", Gr 5

1шт.

4

88182

COTTER PIN,1/4" OD x 2" L

1шт.

5

86534764

BOLT,Hex, 1" - 8 x 8", Gr 8

1шт.

6

25769

WASHER,25.8mm ID x 49.21mm OD x 3.17mm Thk

2шт.

7

9849633

NUT,1"-8, G5

1шт.

8

86632234

ARM ASSY.

Includes: Ref 9

1шт.

9

9611935

BUSHING,31.83mm ID x 39.115mm OD x 26.92mm L

2шт.

10

86632239

PIN,31.75mm OD x 125.5mm L

1шт.

11

86632243

SPACER

1шт.

12

281074

BOLT,Hex, 3/4" - 10 x 2 1/2", Gr 8

1шт.

13

86516694

WASHER

1шт.

14

87569

LUBE NIPPLE,45 Degree, 1/4" NPT x 4/5" L, Drive

1шт.

15

84154208

SPACER

Plate

1шт.

16

87365

WASHER,0.66" ID x 1.31" OD x 0.1" Thk

5шт.

17

87573687

HYDRAULIC CYLINDER,28.7mm Rod, 251.71mm Stroke

Slave, Monarch

1шт.

Cylinder head will protrude beyond end of barrel.

1шт.

17

87573687R

REMAN-HYD CYLINDER

DC132F (9/08-)

1шт.

87573687C

CORE-HYD CYLINDER

Return Number

1шт.

18

86539889

HOSE

1шт.

19

76344

90 ELBOW,9/16" - 18 JIC x 9/16" - 18 ORB

Incl. Ref. 36

1шт.

20

87061353

STOP

1шт.

21

80753

COTTER PIN,1/4" x 1 1/2"

1шт.

22

86529064

PIN

1шт.

23

86521617

BOLT,Hex, 1/2" - 13 x 2", Gr 5

2шт.

24

87364

WASHER,0.53" ID x 1.06" OD x 0.1" Thk

2шт.

25

86519305

BUMPER

1шт.

26

86521610

FLANGE NUT,Flg, 1/2"-13

2шт.

27

86508734

BOLT,Hex, 3/4" - 10 x 5 1/2", Gr 8

2шт.

28

280375

NUT,3/4"-10, GC

2шт.

29

322359

BELLEVILLE WASHER,M20 Bolt Size x 40mm OD x 3.2mm Thk

2шт.

30

86521609

FLANGE NUT,Flg, 3/8"-16

3шт.

31

86010402

CLAMP,12.7mm, Coat, 10.3mm Bolt Hole, P Type

4шт.

32

262159

CAP,3/4" - 16 Fem JIC

1шт.

33

128996

TEE,3/4" - 16 JIC x 3/4" - 16 JIC x 3/4" - 16 JIC

1шт.

34

86539893

HOSE,9.65 mm ID x 571.5 mm

1шт.

35

76350

HYD CONNECTOR,9/16" - 18 ORB x 9/16" - 18 JIC

1шт.

36

9617873

O-RING,0.078" Thk x 0.468" ID, -906, Cl 6, 90 Duro

2шт.

37

270184

LINCH PIN,6.35mm OD

1/4" x 1-3/4"

1шт.

38

86510381

PIN

1шт.

39

86627885

CHAMBER

Tilt, 3-7/8" High

1шт.

40

86599380

SPACER

15/16" L

4шт.

41

86627758

HYDRAULIC CYLINDER

Tilt, Monarch

1шт.

87394809R

REMAN-HYD CYLINDER

DC132F (9/08-), REMAN FOR NEW P/N 86627758

1шт.

87394809C

CORE-HYD CYLINDER

Return Number

1шт.

Cylinder head will protrude beyond end of barrel.

1шт.

42

87061043

PIN

1шт.

43

87400

COTTER PIN,3/16" x 2"

2шт.

44

86539129

SPRING

1шт.

45

80756

COTTER PIN,1/8" x 3/4"

2шт.

46

87618910

LATCH

1шт.

47

86546360

PIN

1шт.

48

86539896

HYD TUBE,12.70 mm OD

Includes: Ref. 56 & 57

1шт.

50

86539895

HYD TUBE,12.70 mm OD

Includes Ref. 56 & 57

1шт.

51

87055692

FRAME ASSY

Trail, Includes: Decals

1шт.

52

87381

WASHER,0.81" ID x 1.47" OD x 0.13" Thk

2шт.

53

86507008

BOLT,Hex, 5/16" - 18 x 3 1/2", Gr 5

1шт.

54

9823743

FLANGE NUT,Flg, 5/16"-18

1шт.

55

87414

LUBE NIPPLE,1/4" - 28

1шт.

56

129428

TUBE NUT,37 Degree, 3/4"-16, Type B

4шт.

57

235671

SLEEVE,37 Degree, 1/2" Tube

4шт.

Выбрано товаров: 62