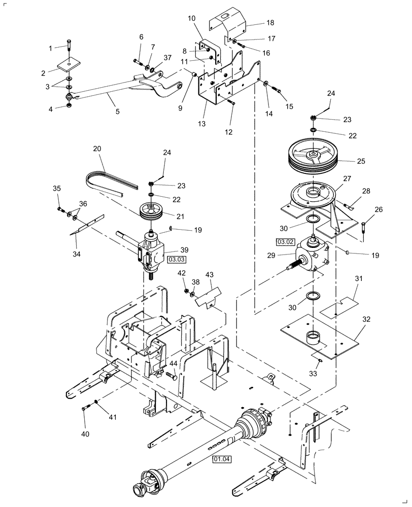
Запчасти Case IH DC132F (14.07) - HEADER DRIVE, CENTER (14) - CROP CUTTING

Схема запчастей Case IH DC132F - (14.07) - HEADER DRIVE, CENTER (14) - CROP CUTTING
30
22
22
11
30
3
19
36
32
5
17
39
21
24
24
42
27
23
8
34
41
43
13
2
15
20
9
38
29
26
25
28
31
40
35
10
6
37
4
1
14
03.02
01.04
03.03
12
7
16
18
44
23
19
33
FIT
1:1
100%

Артикул

Название

Примечание

Количество

1

86977759

BOLT,Hex, 3/4" - 10 x 3 1/2", Gr 5

1шт.

2

86538355

SPACER

1шт.

3

87381

WASHER,0.81" ID x 1.47" OD x 0.13" Thk

2шт.

4

280375

NUT,3/4"-10, GC

1шт.

5

86629779

TUBE,1243.60 mm L

1шт.

6

87975

BOLT,Hex, 1/2" - 13 x 2 1/4", Gr 5

2шт.

7

695335

WASHER,12.95mm ID x 37.59mm OD x 4.75mm Thk

1/2"

2шт.

8

86521610

FLANGE NUT,Flg, 1/2"-13

2шт.

9

86631384

SPACER

2шт.

10

87517038

BRACKET

1шт.

11

86521605

FLANGE NUT,5/16"-18, Cl 5

1шт.

12

86521553

BOLT,Hex, 5/16" - 18 x 1", Gr 5

1шт.

13

86629782

CHAMBER

1шт.

14

86513238

LOCK WASHER,.515” ID x 1.070” OD x .120” TK

Belleville, 1/2"

4шт.

15

9790143

BOLT,Hex, 1/2" - 13 x 1", Gr 8, Full Thd

4шт.

16

86521552

BOLT,Hex, 5/16" - 18 x 3/4", Gr 5

4шт.

17

322358

BELLEVILLE WASHER,M8 Bolt Size x 18mm OD x 1.4mm Thk

4шт.

18

86629781

COVER

PTO

1шт.

19

87122

WOODRUFF KEY,#128, 5/16" x 2 1/8"

2шт.

20

86627796

V-BELT,0.66" W x 147.00" L, 2 Ribs

1шт.

21

86632261

PULLEY

1шт.

22

672

WASHER

1-1/8"

2шт.

23

49027

SLOTTED NUT

Slotted, G2, NF 1"-20

2шт.

24

86523955

COTTER PIN,1/8" x 2"

1/8" x 2"

2шт.

25

86632255

PULLEY

2шт.

26

86521615

BOLT,Hex, 1/2" - 13 x 1 1/2", Gr 5

4шт.

27

86641961

SUPPORT

1шт.

28

84251

LUBE NIPPLE,30 Degree, 1/8" NPT x 2 5/64" lg

1шт.

29

86572192

GEARBOX

Pivot

1шт.

29

86572192R

REMAN-GEARBOX

Pivot

1шт.

29

86572192C

CORE-GEARBOX

Return Number

1шт.

30

86523854

THRUST WASHER

Nylon, 3-1/2"

2шт.

31

86632259

SHIM

0.83/0.99mm

1шт.

31

84217031

SHIM

0.53/0.69mm

1шт.

32

86632258

PLATE

1шт.

33

87414

LUBE NIPPLE,1/4" - 28

1шт.

34

86632263

SHIELD

1шт.

35

120103

BOLT,M8 x 1.25 x 16mm, Cl 8.8

2шт.

36

80664

WASHER,0.38" ID x 0.88" OD x 0.08" Thk

4шт.

37

26129

WASHER,25.8mm ID x 39.69mm OD x 0.99mm Thk

2шт.

38

140045

BELLEVILLE WASHER,M10 Bolt Size x 22mm OD x 1.6mm Thk

1шт.

39

86561235

GEARBOX

Bevel, Pivot

1шт.

39

86561235R

REMAN-GEARBOX

Bevel, Pivot

1шт.

39

86561235C

CORE-GEARBOX

Return Number

1шт.

40

280319

BOLT,Hex, 5/8" - 11 x 1 1/4", Gr 5, Full Thd

8шт.

41

140048

BELLEVILLE WASHER,M16 Bolt Size x 32mm OD x 2.8mm Thk

8шт.

42

86521606

FLANGE NUT,Hex, 3/8" - 16, Gr 5

1шт.

43

86629762

SHIELD

1шт.

44

88682

CARRIAGE BOLT,Short Nk, 3/8"-16 x 1", Gr 5

1шт.

Выбрано товаров: 49