Запчасти Case IH DC132F (14.08) - HEADER SPRINGS (14) - CROP CUTTING

Схема запчастей Case IH DC132F - (14.08) - HEADER SPRINGS (14) - CROP CUTTING
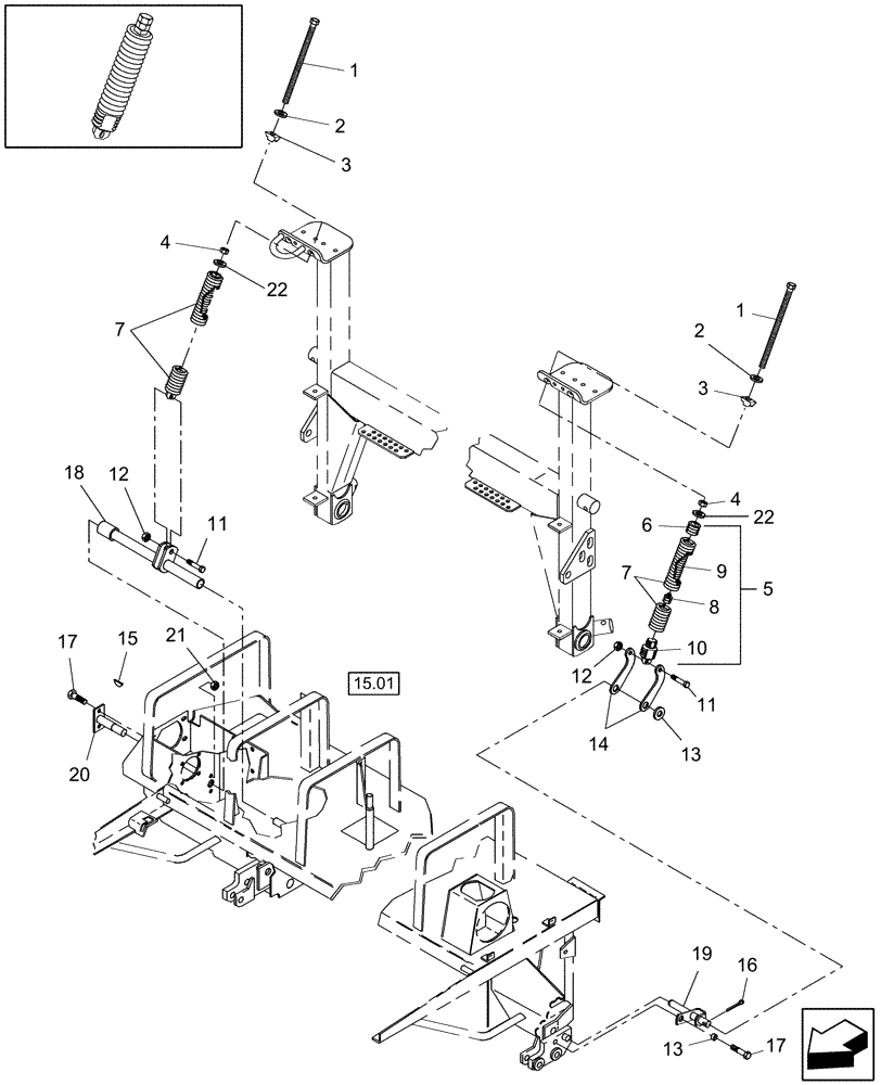
14
15
7
12
22
21
2
13
4
12
4
11
1
13
3
18
17
17
16
22
6
2
11
7
10
3
20
8
19
9
5
15.01
1
FIT
1:1
100%

Артикул

Название

Примечание

Количество

1

86524072

THREADED ROD

2шт.

2

130358

WASHER,16.28mm ID x 38.35mm OD x 4.11mm Thk

Hardened, 5/8"

1шт.

3

694420

PIVOT

Spring

2шт.

4

280374

NUT,Hex, 5/8" - 11, Gr 5

2шт.

5

86524022

SPRING

Includes: Ref. 6 - 10

2шт.

6

621922

SPRING NUT

Spring, Outer

2шт.

7

86511080

SPRING

2шт.

8

621920

SPRING NUT

Spring, Inner

2шт.

9

86511081

SPRING

2шт.

10

86516325

SPRING NUT

Spring, Bottom

2шт.

11

88556

BOLT,Hex, 5/8" - 11 x 2 1/4", Gr 5

2шт.

12

86521611

FLANGE NUT,Flg, 5/8"-11

2шт.

13

27373

WASHER,29.37mm ID x 50.8mm OD x 3.17mm Thk

2шт.

14

86629713

CONNECTING LINK

2шт.

15

80768

WOODRUFF KEY,#15, 1/4" x 1"

1шт.

16

88182

COTTER PIN,1/4" OD x 2" L

1шт.

17

86521614

BOLT,Hex, 1/2" - 13 x 1 1/4", Gr 5

2шт.

18

86562412

PIPE

1шт.

19

86522799

PIN

1шт.

20

86562415

SHAFT

1шт.

21

86521607

FLANGE NUT,Flg, 1/2"-13, G5

2шт.

Выбрано товаров: 21