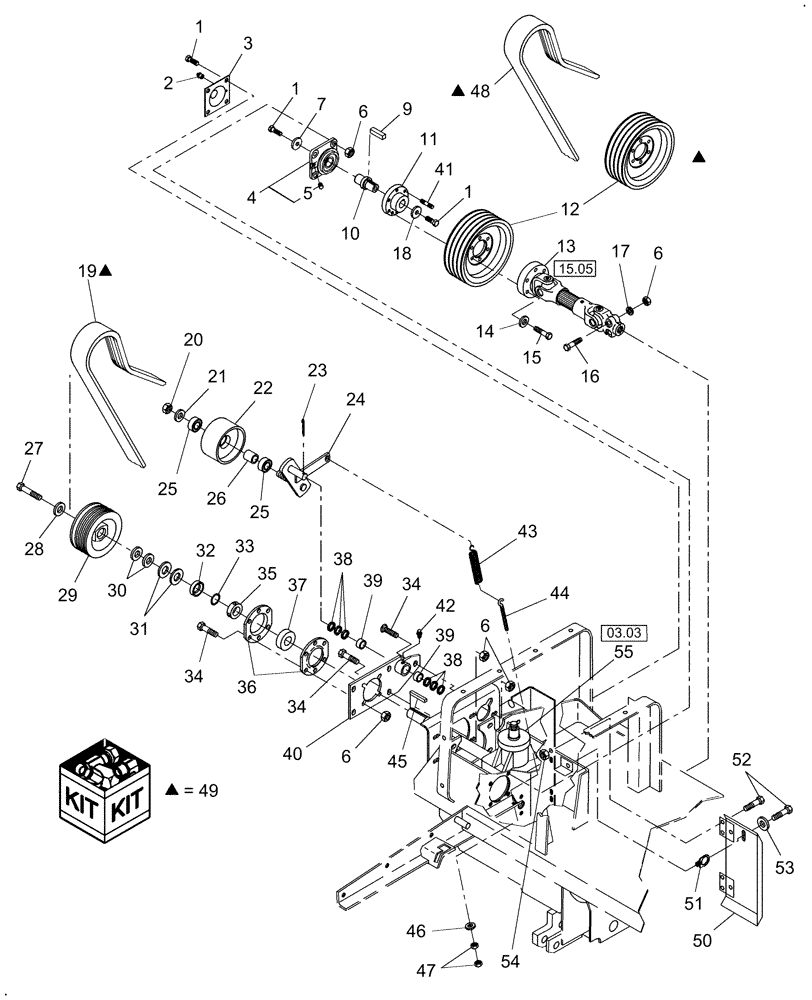
Запчасти Case IH DC162F (14.08) - HEADER DRIVE, RIGHT SIDE (14) - CROP CUTTING

Схема запчастей Case IH DC162F - (14.08) - HEADER DRIVE, RIGHT SIDE (14) - CROP CUTTING
54
15
43
5
42
36
1
39
6
12
28
15.05
03.03
34
23
19
34
32
51
21
50
52
2
33
14
25
45
26
31
39
3
25
1
6
29
16
53
10
34
6
24
47
55
13
11
38
20
17
41
7
37
46
9
30
48
4
38
6
40
1
35
22
27
18
44
FIT
1:1
100%

Артикул

Название

Примечание

Количество

1

86521615

BOLT,Hex, 1/2" - 13 x 1 1/2", Gr 5

6шт.

2

87414

LUBE NIPPLE,1/4" - 28

2шт.

3

86562417

COVER

1шт.

4

84214840

BEARING ASSY

Includes Bearing Ref. 8

1шт.

5

86539484

PIPE PLUG,Sq Hd, 1/8"-27, NTPF

1шт.

6

86521607

FLANGE NUT,Flg, 1/2"-13, G5

14шт.

7

86622619

WASHER,0.53" ID x 1.62" OD x 0.25" Thk

1/2"

1шт.

8

136903

ROLLER BEARING,31.77mm ID x 59.16mm OD x 36.75mm W

1шт.

9

278543

KEY

5/16" Sq x 1"

1шт.

10

86562333

SHAFT

1шт.

11

86540073

HUB

1шт.

12

86538651

PULLEY

4 Grooves, 177.8mm OD, High Speed Rotor

1шт.

12

86633564

PULLEY

4 Grooves, 247.7mm OD, Low Speed Rotor, Component of Ref. 49

1шт.

13

0C

ORDER COMPONENTS

Shaft, Drive

1шт.

14

285072

WASHER,10.3mm ID x 22.2mm OD x 2.7mm Thk

(3/8")

5шт.

15

88546

BOLT,Hex, 3/8" - 16 x 2 1/4", Gr 5

5шт.

16

87339

BOLT,Hex, 1/2" - 13 x 3", Gr 5

2шт.

17

86513238

LOCK WASHER,.515” ID x 1.070” OD x .120” TK

Belleville, 1/2"

1шт.

18

695335

WASHER,12.95mm ID x 37.59mm OD x 4.75mm Thk

1шт.

19

87542623

V-BELT,3.00" W, 4 Ribs

High Speed Rotor

1шт.

19

86627791

V-BELT,0.66" W x 76.80" L, 4 Ribs

Low Speed Rotor, Component of Ref. 49

1шт.

20

280375

NUT,3/4"-10, GC

1шт.

21

86512328

WASHER,19.46mm ID x 35.05mm OD x 3.43mm Thk

(20 mm)

1шт.

22

86632727

IDLER

1шт.

23

87398

COTTER PIN,3/16" OD x 1-1/4" OAL

1шт.

24

86632284

ARM

1шт.

25

87029275

BEARING,19mm ID x 45.2mm OD x 15.5mm W

2шт.

26

217994

SPACER

3/4" ID x 1-1/4" L

1шт.

27

9627896

BOLT,Hex, 5/8" - 11 x 1 3/4", Gr 5

1шт.

28

574245

WASHER,16.76mm ID x 50.8mm OD x 6.35mm Thk

Hardened, Special, M16

1шт.

29

86632265

SHEAVE

6" OD

1шт.

30

28581

WASHER,38.9mm ID x 60.3mm OD x 3.5mm Thk

1"

2шт.

31

28691

WASHER,39mm ID x 60mm OD x 0.89mm Thk

1-1/2"

4шт.

32

86510186

SPACER

1шт.

33

626286

SNAP RING

Ext, 1.50"

1шт.

34

86521614

BOLT,Hex, 1/2" - 13 x 1 1/4", Gr 5

9шт.

35

52444

COLLAR,38.2mm ID x 60.33mm OD x 18.3mm Thk

& Screw

1шт.

36

84523802

2шт.

37

52443

BALL BEARING,38.1mm ID x 79.99mm OD x 22mm W

1шт.

38

26402

WASHER,25.8mm ID x 38.1mm OD x 1.7mm Thk

3шт.

39

27767

BUSHING

2шт.

40

86632943

PLATE

Includes: Ref. 39

1шт.

41

86506700

STUD

3/8" x 2-1/8"

1шт.

42

87569

LUBE NIPPLE,45 Degree, 1/4" NPT x 4/5" L, Drive

1шт.

43

86572215

SPRING,Extension, 25.58mm OD x 240.18mm L

1шт.

44

36835

EYEBOLT,G2, 3/8"-16 x 6-1/2"

G2, 3/8"-16 x 6-1/2"

1шт.

45

87485

KEY,50.8mm OAL x 7.96mmThk

5/16" Sq x 2"

1шт.

46

80702

WASHER,0.44" ID x 1" OD x 0.08" Thk

1шт.

47

9628503

NUT,3/8"-16, G5

2шт.

48

86627791

V-BELT,0.66" W x 76.80" L, 4 Ribs

Component of Ref. 49

1шт.

49

86605015

KIT

Low Speed Rotor, Includes: Ref. 19 & 48

1шт.

50

86632242

COVER

1шт.

51

264552

FASTENER

1шт.

52

9707580

BOLT,Hex, 1/4" - 20 x 3/4", Gr 5, Full Thd

4шт.

53

80701

WASHER,0.31" ID x 0.73" OD x 0.07" Thk

3шт.

54

9626558

FLANGE NUT,Flg, 1/4"-20

4шт.

55

86561235

GEARBOX

1шт.

56

86561235R

REMAN-GEARBOX

1шт.

56

86561235C

CORE-GEARBOX

Return Number

1шт.

Выбрано товаров: 59