Запчасти Case IH 1190 (9-050) - DRIVE SHAFT, 1190 MOWER CONDITIONER, HAYES-DANA, ROCKWELL AND REXNORD (03) - CHASSIS/MOUNTED EQUIPMENT

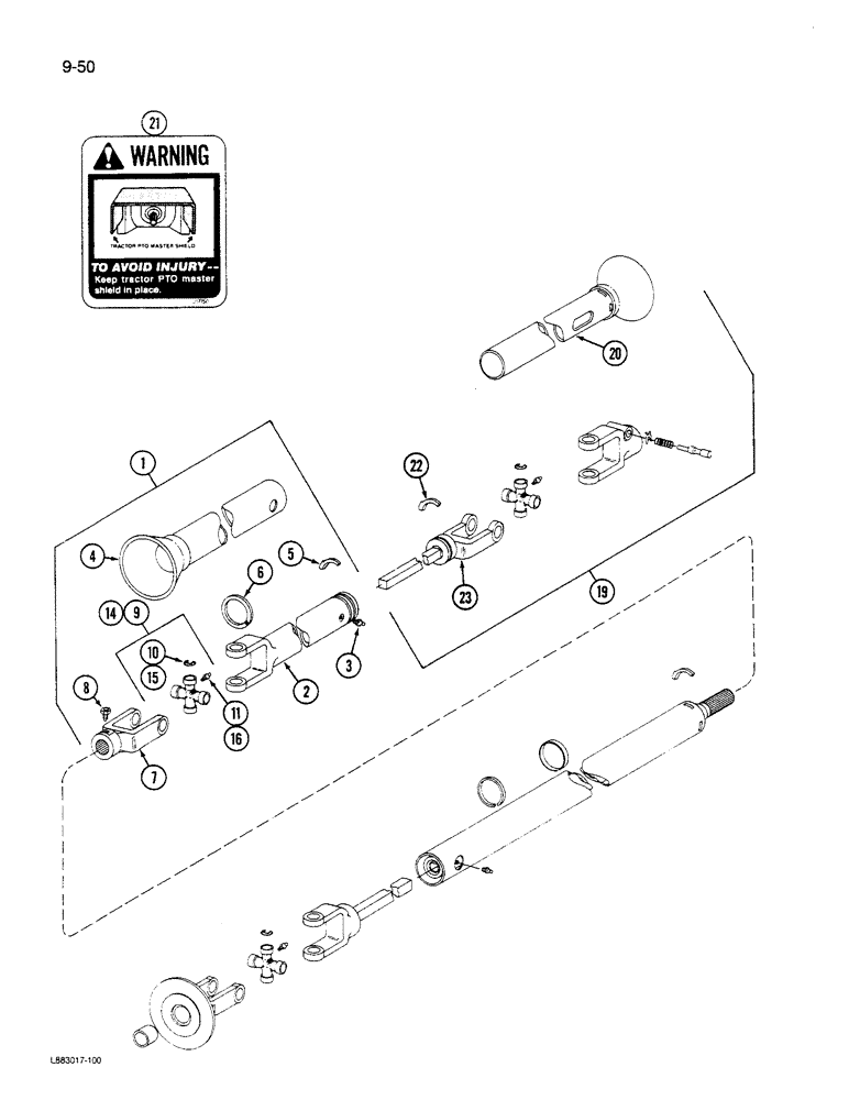
Схема запчастей Case IH 1190 - (9-050) - DRIVE SHAFT, 1190 MOWER CONDITIONER, HAYES-DANA, ROCKWELL AND REXNORD (03) - CHASSIS/MOUNTED EQUIPMENT
FIT
1:1
100%

Артикул

Название

Примечание

Количество

1

101801C92

JOINT ASSY.

JOINT ASSEMBLY - drive shaft, implement end

1шт.

2

119373C92

FORK

YOKE ASSEMBLY - sleeve

1шт.

Ref # 2, measures 19.75" from ctr of hole where the cross mounts to the end of ref # 3. the large o.d. is 5.5".

1шт.

3

86636814

LUBE NIPPLE,1/4"-28 x .52" lg

FITTING - grease, straight, 1/4 inch NF

2шт.

4

119371C91

SHIELD

- inner

1шт.

Ref # 4, measures 19.12/19.60" from end to end.

1шт.

5

542956R1

NYLON BEARING,0.312"

- segment, nylon (For Hayes-Dana shield - see Note)

3шт.

5

549626R1

BEARING

- segment, nylon (Used with Rockwell or Rexnord shield - see Note)

2шт.

6

607911R1

NYLON BEARING,1.781" ID x 0.25"

RING - bearing, outer support

1шт.

7

460620R1

YOKE

- splined (Alternative part is 480755R1)

1шт.

7

480755R1

YOKE

- splined (Alternative part is 460620R1)

1шт.

8

38904K

SET SCREW,1/2" - 20 x 1-9/16"

SCREW - set, square head cone point, 1/2 NF x 1 inch

1шт.

25-158

JAM NUT,Jam, 1/2"-20, G5

- hex jam, 1/2 inch NF

1шт.

9

667558R91

KIT

- cross and bearing (Alternative part is Ref. 14)

1шт.

NSS

NOT SOLD SEPARAT

CROSS - drive shaft

1шт.

NSS

NOT SOLD SEPARAT

BEARING ASSEMBLY - needle

4шт.

10

667561R1

RING

- retaining, internal

4шт.

11

219-8

LUBE NIPPLE,1/4" - 28 NPTF

NIPPLE, LUBE, , straight, taper 1/4"-28 NPT x .54" lg

1шт.

14

200464C91

PACKAGE

KIT - cross and bearing (Alternative part is Ref. 9)

1шт.

NSS

NOT SOLD SEPARAT

CROSS - drive shaft

1шт.

NSS

NOT SOLD SEPARAT

BEARING ASSEMBLY - needle

4шт.

15

576420R1

RING

- retaining, internal

4шт.

16

80711

LUBE NIPPLE,65 Degree, 1/8" NPT x 7/8" lg

FITTING - grease, 65 degree, 1/8 inch PT

1шт.

19

112305C93

SHAFT

JOINT ASSEMBLY - drive shaft, tractor end

1шт.

20

119370C93

SHIELD

ASSEMBLY - outer, with decals

1шт.

21

REF

INSTRUCTION

DECAL - warning, tractor PTO master shield (See Figure 9-98)

1шт.

REF

INSTRUCTION

DECAL - adjust drawbar to align hitch pin (See Figure 9-98)

1шт.

22

542956R1

NYLON BEARING,0.312"

- segment, nylon (For Hayes-Dana shield - see Note)

3шт.

22

549626R1

BEARING

- segment, nylon (Used with Rockwell or Rexnord shield - see Note)

2шт.

23

119421C2

FORK

YOKE - with bar

1шт.

Выбрано товаров: 30