Запчасти Case IH 8380 (8-22) - HYDROSTATIC MOTOR ASSEMBLY (08) - HYDRAULICS

Схема запчастей Case IH 8380 - (8-22) - HYDROSTATIC MOTOR ASSEMBLY (08) - HYDRAULICS
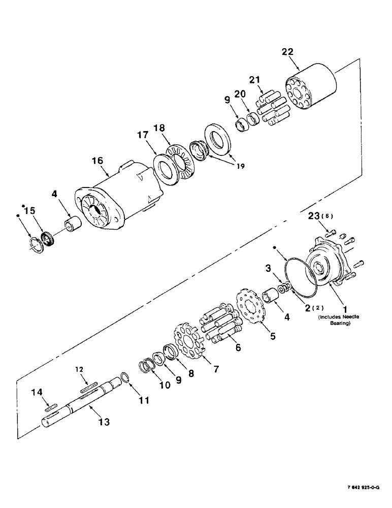
8
18
7
4
9
1
22
15
19
5
16
3
21
12
10
11
13
17
14
6
2
4
23
20
9
FIT
1:1
100%

Артикул

Название

Примечание

Количество

7842925

HYDRAULIC MOTOR

HIGH TORQUE MOTOR COMPLETE

1шт.

700728299R

REMAN-HYD MOTOR

8380, Reman for New P/N 7842925

1шт.

700728299C

REMAN-HYD MOTOR

Return Number

1шт.

1

7037344

LARGE PLATE

BACK PLATE ASSEMBLY

1шт.

2

D63333

WASHER, THRUST

THRUST RACE

2шт.

3

D63334

THRUST BEARING,0.569" ID x 0.99" OD x 0.0781"

1шт.

4

G10420

NEEDLE BEARING

2шт.

5

D63342

PLATE

CONNECTOR PLATE

1шт.

6

7035850

PISTON

TUBULAR PISTON REPAIR KIT (Includes 9 pistons)

1шт.

7

D63339

LARGE PLATE

SPIDER

1шт.

8

D75512

TUBE

PIVOT

1шт.

9

D63338

PIVOT

CONE

2шт.

10

D75822

SPRING

1шт.

11

D63346

RING

RETAINING RING

1шт.

12

D63340

KEY

1шт.

13

7035785

SHAFT

DRIVE SHAFT

1шт.

14

7035967

KEY

1шт.

15

D63349

SEAL

REPAIR KIT, Includes items in art marked with asterisk.

1шт.

THE COMPLETE KIT WAS 7738271, IT SUBS TO D63349 SEAL, 100-21162 RET RING AND 238-7157 O'RING.

1шт.

16

7037336

HOUSING ASSY.

HOUSING ASSEMBLY (Includes needle bearing)

1шт.

700728299R

REMAN-HYD MOTOR

8380, Reman for New P/N 7037336

1шт.

700728299C

REMAN-HYD MOTOR

Return Number

1шт.

17

D63331

BEARING WASHER,2.375" ID x 40613" OD x 0.156"

BEARING RACE

1шт.

18

D63332

THRUST BEARING,2.267" ID x 3.845" OD x 0.375"

1шт.

19

D80508

RACE

PISTON RACE ASSEMBLY

1шт.

20

D63341

BUSHING

SPACER

1шт.

21

7035843

PISTON

SOLID PISTON REPAIR KIT (Includes 9 pistons)

1шт.

22

D63344

BLOCK

PISTON BLOCK

1шт.

23

413-516

BOLT,Hex, 5/16" - 18 x 1", Gr 5

C Hex, 5/16"-18 x 1", G5, Full Thd

6шт.

Выбрано товаров: 0