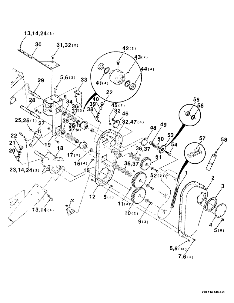
Запчасти Case IH 8380 (2-06) - CHAINBOX ASSEMBLY, 700114743 CHAINBOX ASSEMBLY COMPLETE (09) - CHASSIS

Схема запчастей Case IH 8380 - (2-06) - CHAINBOX ASSEMBLY, 700114743 CHAINBOX ASSEMBLY COMPLETE (09) - CHASSIS
30
14
46
49
52
38
9
14
34
32
13
13
45
53
55
6
36
27
37
18
37
20
26
37
1
10
33
54
24
7
5
19
43
56
32
40
36
14
37
3
58
51
17
36
50
35
32
29
24
5
57
42
36
6
16
5
6
39
23
4
2
41
22
8
47
15
48
22
1
31
44
25
12
28
21
FIT
1:1
100%

Артикул

Название

Примечание

Количество

700114743

ASSEMBLY

CHAINBOX COMPLETE

1шт.

1

700706593

CHAIN

ROLLER CHAIN - double, 60-P

1шт.

2

700114796

COVER

- chainbox

1шт.

3

744128

GASKET

1шт.

4

442541

COVER

- cap

1шт.

5

256873

BOLT,Hex Serr, 5/16" - 18 x 1/2", 5SPL, Full Thd

16шт.

6

231-5145

SERRATED NUT,Flg, USR, 5/16"-18

NUT, Flg, USR, 5/16"-18

17шт.

7

121-108

BOLT,Hex Flg, 5/16"-18 x 1 1/4", Serr

5/16-18 X 1 HWHMS

15шт.

8

121-115

SERRATED BOLT,Hex, 5/16" - 18 x 3/4"

15шт.

9

700707050

SCREW

1/2-13 X 1 C GR8

3шт.

10

700114752

SPROCKET

- double, 60-P, 30 tooth

2шт.

11

126-121

WOODRUFF KEY,#A, 1/4" x 7/8", HT

1шт.

12

700114745

PLATE

- chainbox

1шт.

13

413-820

BOLT,Hex, 1/2" - 13 x 1-1/4", Gr 5

6шт.

14

80679

LOCK WASHER,1/20.507 CST ZND

WASHER, LOCK, 1/2"

8шт.

15

217-430

PLUG,Hex Soc, 1/8" - 27 NPTF

1/8 NPTF SQUARE HEAD PLUG

1шт.

16

700711926

CONE

BEARING - cone

4шт.

17

700114761

TUBE

BEARING - tube assembly

2шт.

18

700706595

GEARBOX

1шт.

19

700114763

SUPPORT

MOUNTING - chainbox

1шт.

20

137894

ELBOW,45 Degree, 1/2" NPT Street

45 DEGREE STREET ELL

1шт.

21

444030

REDUCER,1/2"-14 NPTF x 1/8"-27 Fem NPTF

BUSHING

1шт.

22

152127H1

BREATHER,1/8"-27, Short

PLUG - vent

2шт.

23

413-816

BOLT,Hex, 1/2" - 13 x 1", Gr 5

2шт.

24

495-21056

WASHER,1/2"

1/2 P

4шт.

25

409-7612

BOLT,3/8"-16 x 1.09" OAL

3/8-16 X 3/4 HWHMS

2шт.

26

231-5146

FLANGE NUT,3/8"-16

2шт.

27

700114760

GUSSET

1шт.

28

700114757

SHAFT

- lower

1шт.

29

700114758

SHAFT

- main

1шт.

30

700114747

SUPPORT

- upper, chainbox

1шт.

700119007

SUPPORT

- upper, chainbox

1шт.

31

433-816

CARRIAGE BOLT,Sq Nk, 1/2" - 13 x 1", Gr 5

1/2-18 X 1 RHSNB

2шт.

32

231-5148

FLANGE NUT,Flg, USR, 1/2"-13

11шт.

33

700114536

SHIELD

- rear

1шт.

34

700706600

COLLAR

- clamp, threaded

1шт.

35

700706353

COLLAR

- clamp, threaded

1шт.

36

495-81205

WASHER,32.54mm ID x 50.8mm OD x 1.7mm Thk

1-1/4 X 14 GAUGE NRMB

14шт.

37

495-81205

WASHER,32.54mm ID x 50.8mm OD x 1.7mm Thk

1-1/4 X 14 GAUGE NRMB

6шт.

38

217-20

ELBOW,90 Degree, 1/8"-28 NPTF, Fem x 1/8"-27 NPTF Male

Street - brass 90º, 1/8"-28 NPTF, Fem x 1/8"-27 NPTF Male

1шт.

39

221-109

PIPE,Nipple, 1/8" NPT x 2"

1/8 X 2 PIPE NIPPLE

1шт.

40

221-326

COUPLING,Pipe, 1/8" NPT

1/8 PIPE COUPLING

1шт.

41

100-21231

SNAP RING,2.312", Int, #231

Ring, Snap, 2.312", Int, #231

4шт.

42

7792005

VENT

PLUG - vent

2шт.

43

219-8

LUBE NIPPLE,1/4" - 28 NPTF

NIPPLE, LUBE, 1/4"-28 NPT x .54" lg

2шт.

44

651817R1

BEARING CUP

BEARING - cup

4шт.

45

7883366

SCREW,Hex Washer, 3/8" - 16 x 1/2"

3/8-16 X 1/2

2шт.

46

700114759

CAM

- outside

1шт.

47

413-840

BOLT,Hex, 1/2" - 13 x 2-1/2", Gr 5

1/2-13 X 2-1/2 C

8шт.

48

700114766

CAM

- inside

1шт.

49

437640

BUSHING,12.95mm ID x 19.05mm OD x 12.7mm L

1шт.

50

95-81100

WASHER,33/64" x 7/8" x .049"

1/2 X 18 GAUGE NRMB

3шт.

51

700114753

SPROCKET

- double, 60-P, 23 tooth

1шт.

52

6165138

WASHER

WASHER

3шт.

53

700114755

SPROCKET

- idler, assembly

1шт.

54

700114754

BOLT

- special

1шт.

55

7714629

BALL BEARING,17mm ID x 40mm OD x 20.64mm W

BEARING - cylindrical

1шт.

56

100-21156

SNAP RING,1.562", Int, #156

Ring, Snap, 1.562", Int, #156

1шт.

57

241-1326

LINK,12.7mm Pitch

CONNECTOR LINK - double, 60-P

1шт.

58

700705029

GASKET KIT

GASKET KIT - loctite

1шт.

Выбрано товаров: 60