Качественные детали и логистика
Оригинальные и аналоговые запчасти с доставкой по России, Казахстану и Беларуси
©2022 PartSell ООО "Система" ИНН 2463123282 ОГРН 1212400004838
Центральный офис: г. Красноярск, Академика Киренского, д.87, пом.4
Телефон: 8 (800) 777-65-74 Email: zakaz@partsell.ru
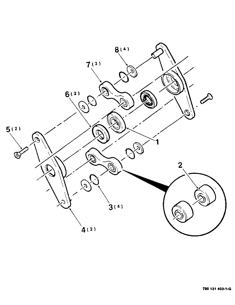
(3-12) - SWAYBAR LINK ASSEMBLY, SERIAL NUMBER CFH0009782 THRU CFH0010162
№
Артикул
Название
Примечание
Количество
1
173809C91
BEARING ASSY,35mm ID x 80mm OD x 21mm W
BEARING - cylindrical
1шт.
2
7714629
BALL BEARING,17mm ID x 40mm OD x 20.64mm W
3
8744187
O-RING,39.7mm ID x 44.93mm OD x 2.69mm
4шт.
4
700121401
COVER PLATE
PLATE - link
2шт.
5
164-130
HEX SOC SCREW,Flat Hd, 1/2" - 20 x 1 1/4"
1/2-13 X 1-1/4 HSFCSHCS
6
700709813
SEAL
- grease
7
700114630
LINK ASSY.
LINK - assembly
8
700709814
WASHER
Выбрано товаров: 0