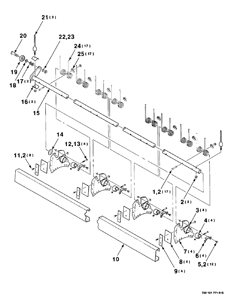
Запчасти Case IH 8380 (6-08) - REEL BAT AND TINE TUBE ASSEMBLY, TINE TUBE ASSEMBLY B (09) - CHASSIS

Схема запчастей Case IH 8380 - (6-08) - REEL BAT AND TINE TUBE ASSEMBLY, TINE TUBE ASSEMBLY B (09) - CHASSIS
15
13
20
7
24
9
11
6
8
1
2
25
19
17
21
22
12
2
5
2
4
2
3
10
14
23
18
16
FIT
1:1
100%

Артикул

Название

Примечание

Количество

1

413-532

BOLT,Hex, 5/16" - 18 x 2", Gr 5

17шт.

2

231-5145

SERRATED NUT,Flg, USR, 5/16"-18

NUT, Flg, USR, 5/16"-18

39шт.

3

700708643

BEARING HOUSING

HOUSING - bearing

4шт.

4

6105159

NYLON BEARING,1.75"

BEARING - tine

4шт.

5

121-115

SERRATED BOLT,Hex, 5/16" - 18 x 3/4"

12шт.

6

6831986

COVER

- bearing

4шт.

7

700114555

SUPPORT

- bearing

4шт.

8

700114544

LARGE PLATE

PLATE - reel

4шт.

9

700114543

RETAINER

4шт.

10

700124069

BAT

- reel

1шт.

11

111-237

CARRIAGE BOLT,Short NK, 5/16"-18 x 1", G5

BOLT, CARRIAGE, Short NK, 5/16"-18 x 1", G5

8шт.

12

413-432

BOLT,Hex, 1/4" - 20 x 2", Gr 5

4шт.

13

232-4114

LOCK NUT,1/4"-20, GC

1/4-20 HTLN GR B

4шт.

14

195-2139

WASHER,36.52mm ID x 57.15mm OD x 2.03mm Thk

1-3/8 X 14 GAUGE NRMB

1шт.

15

700121589

TUBE

WA - tine

1шт.

16

700117971

RETAINER

- tube

2шт.

17

52233

BUSHING

5/8 X 14 GAUGE NRMB

2шт.

18

52175

BUSHING,25.48mm ID x 38.2mm OD x 3.17mm L

5/8 X 18 GAUGE NRMB

1шт.

19

667925R91

ROLLER BEARING,0.628" ID x 2" OD x 15 mm

1шт.

20

8701005

SPECIAL BOLT,Hex, 5/8" - 18 x 2 1/4", Gr 5

5/8-18 X 2-1/4 C SPECIAL

1шт.

21

756163

TINE

- single

2шт.

22

492-11062

BEARING WASHER,5/8"

WASHER, LOCK, 5/8"

1шт.

23

425-1510

JAM NUT,Jam, 5/8"-18, G5

5/8-18 HEX JAM NUT GR 2

1шт.

24

7895642

TINE

- double

17шт.

25

261024

CLIP

- tine

17шт.

Выбрано товаров: 25